专利数据库
统计分析
产业报告
专利数据监控
产业人才
行业动态
产业政策法规
维权援助
个人中心
详情
文本
图像
标题
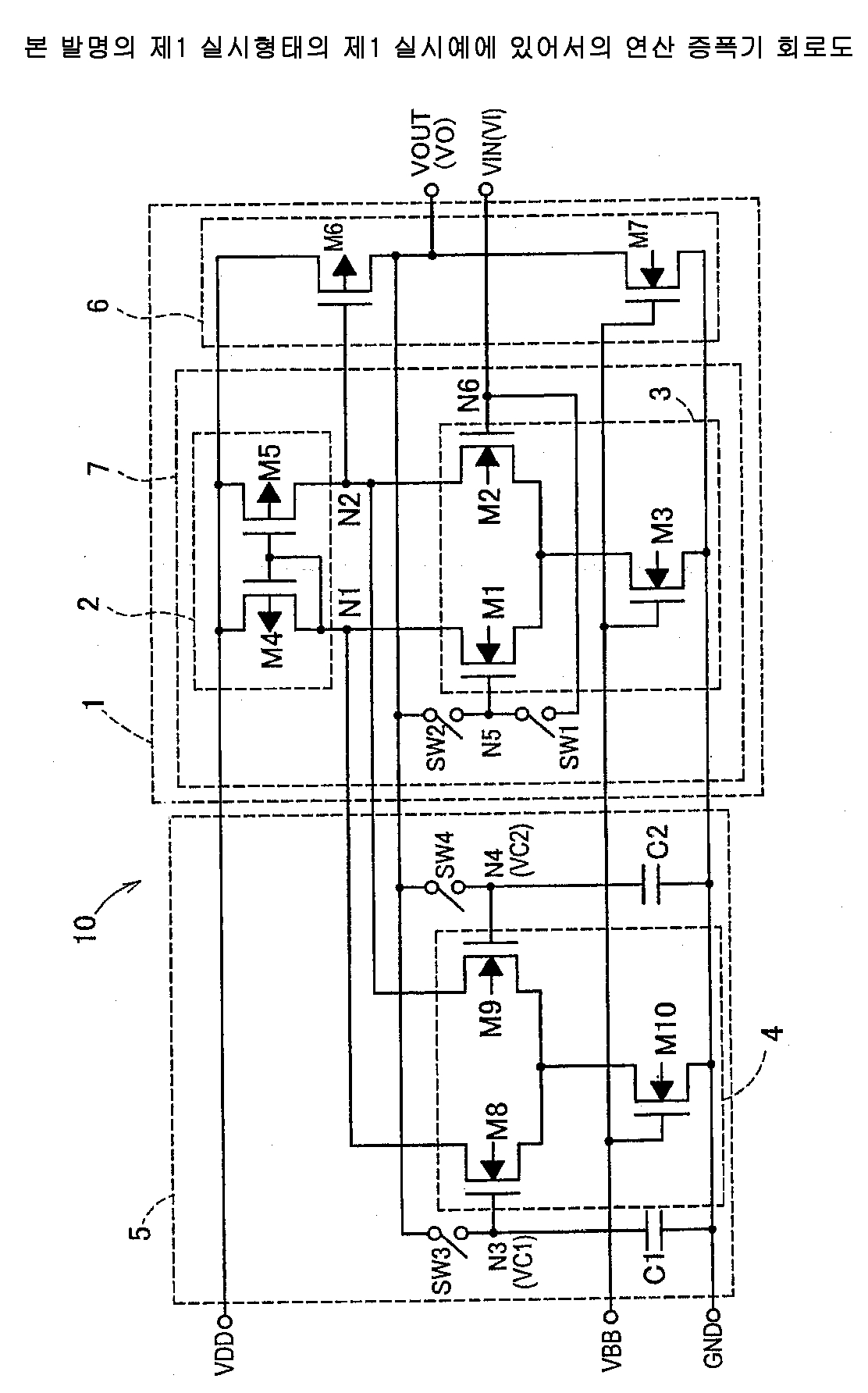
연산 증폭기, 라인 드라이버 및 액정 표시 장치
授权日
1900-01-01
公开(公告)号
KR1020050035064A
申请日
2004-04-23
公开(公告)日
2005-04-15
当前申请(专利权)人
후지쯔 가부시끼가이샤
发明人
가사이토시히코 | 우도신야 | 고쿠분마사토시 | 기자키요시히로
简单同族
JP2005117547A | JP4068040B2 | KR100674457B1 | KR1020050035064A | TW200514008A | TWI234758B | US20050077957A1 | US20060226899A1 | US20080252369A1 | US7081792 | US7336124 | US7880537
简单同族成员数量
12
简单同族被引用专利总数
66
诉讼案件数
0
法律状态/事件
未缴年费 | 权利转移
抱歉,您的浏览器不支持PDF预览,请点击链接下载PDF文件