专利数据库
统计分析
产业报告
专利数据监控
产业人才
行业动态
产业政策法规
维权援助
个人中心
详情
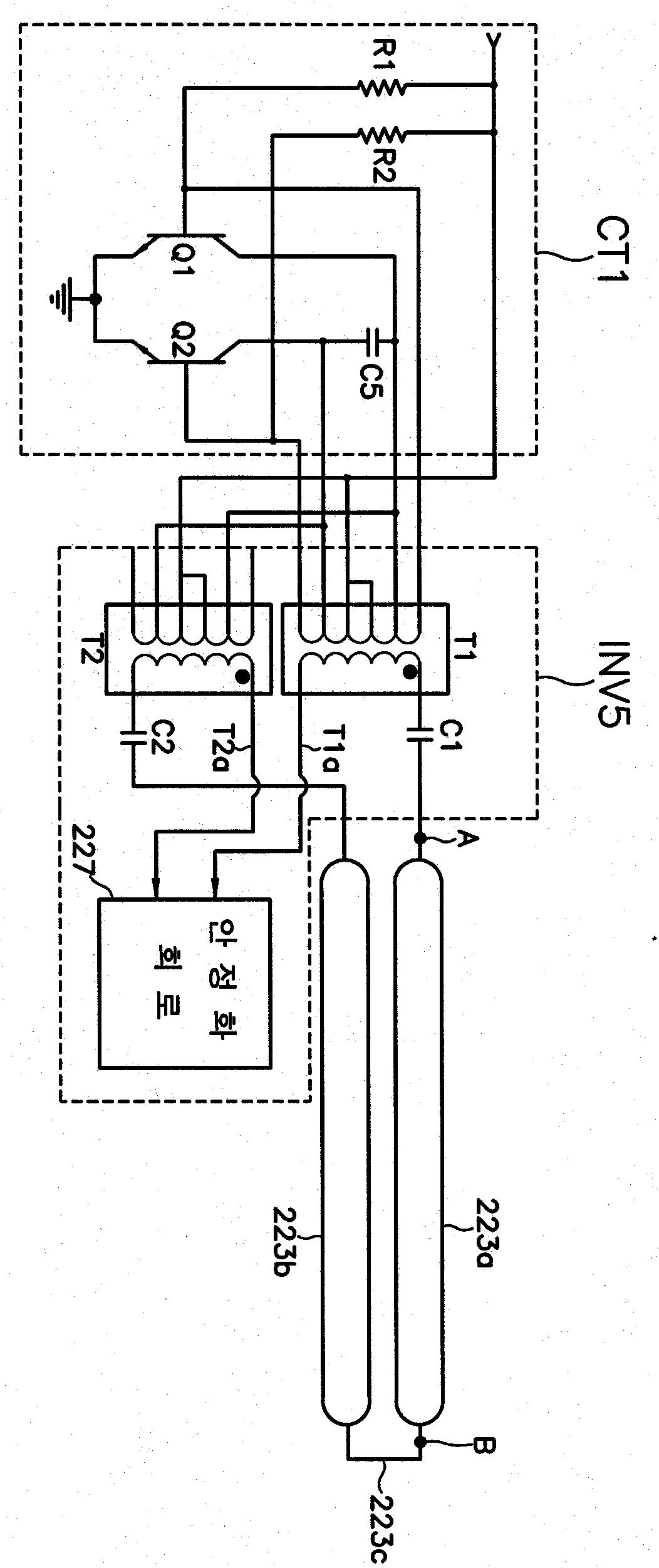
文本
图像
标题
백라이트 어셈블리 및 이를 갖는 액정 표시 장치
授权日
2007-09-11
公开(公告)号
KR100759362B1
申请日
2001-01-18
公开(公告)日
2007-09-19
当前申请(专利权)人
삼성전자주식회사
发明人
SHIN,CHUNGHYUK
简单同族
CN1243274C | CN1366292A | JP2002231034A | JP4782311B2 | KR100759362B1 | KR1020020061834A | US20020130628A1 | US6661181
简单同族成员数量
8
简单同族被引用专利总数
174
诉讼案件数
0
法律状态/事件
未缴年费 | 权利转移
抱歉,您的浏览器不支持PDF预览,请点击链接下载PDF文件