专利数据库
统计分析
产业报告
专利数据监控
产业人才
行业动态
产业政策法规
维权援助
个人中心
详情
文本
图像
标题
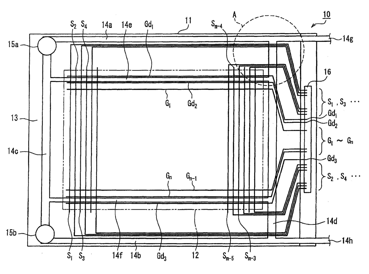
표시 장치
授权日
2010-12-27
公开(公告)号
KR101005654B1
申请日
2007-05-15
公开(公告)日
2011-01-05
当前申请(专利权)人
샤프 가부시키가이샤
发明人
요시다,마사히로
简单同族
AT486298T | CN101443699A | CN101443699B | CN101950105A | CN101950105B | CN101950106A | CN101950106B | DE602007010134D1 | EP2026121A1 | EP2026121A4 | EP2026121B1 | EP2246734A1 | EP2249199A1 | EP2249199B1 | HK1126866A | HK1126866A1 | HK1130321A | HK1130321A1 | JP2011059720A | JP2011070223A | JP4724749B2 | JP5114544B2 | JP5114545B2 | JPWO2007135893A1 | KR101005654B1 | KR1020090027647A | US20090231532A1 | US8395744 | WO2007135893A1
简单同族成员数量
29
简单同族被引用专利总数
53
诉讼案件数
0
法律状态/事件
放弃
抱歉,您的浏览器不支持PDF预览,请点击链接下载PDF文件