专利数据库
统计分析
产业报告
专利数据监控
产业人才
行业动态
产业政策法规
维权援助
个人中心
详情
文本
图像
标题
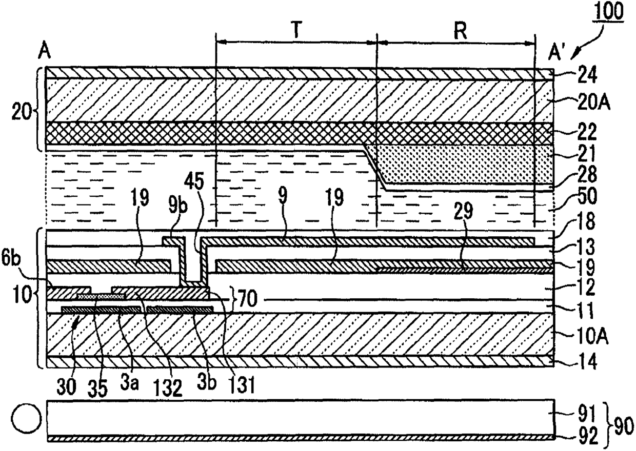
액정 표시 장치 및 전자 기기
授权日
2007-09-14
公开(公告)号
KR100760745B1
申请日
2006-07-14
公开(公告)日
2007-09-21
当前申请(专利权)人
엡슨 이미징 디바이스 가부시키가이샤
发明人
츠치야히토시 | 마츠시마도시하루
简单同族
DE602006012587D1 | EP1744204A1 | EP1744204B1 | JP2007047732A | JP2007047732A5 | JP4039444B2 | KR100760745B1 | KR1020070009475A | TW200706980A | TWI346229B | US20070013773A1 | US7602463
简单同族成员数量
12
简单同族被引用专利总数
84
诉讼案件数
0
法律状态/事件
授权 | 权利转移
抱歉,您的浏览器不支持PDF预览,请点击链接下载PDF文件