专利数据库
统计分析
产业报告
专利数据监控
产业人才
行业动态
产业政策法规
维权援助
个人中心
详情
文本
图像
标题
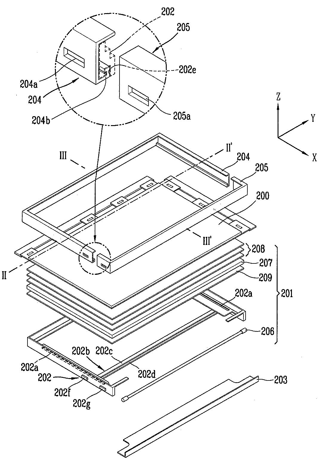
발명의 명칭 액정표시장치
授权日
2014-10-10
公开(公告)号
KR101451737B1
申请日
2006-11-29
公开(公告)日
2014-10-16
当前申请(专利权)人
엘지디스플레이 주식회사
发明人
김태우 | 김기빈 | 황학모
简单同族
CN101231420A | CN101231420B | KR101451737B1 | KR1020080048875A | US20080129918A1 | US7724317
简单同族成员数量
6
简单同族被引用专利总数
72
诉讼案件数
0
法律状态/事件
授权
抱歉,您的浏览器不支持PDF预览,请点击链接下载PDF文件