首页
专利数据库
产业人才
行业动态
产业政策法规
维权援助
个人中心
登录/注册
详情
文本
图像
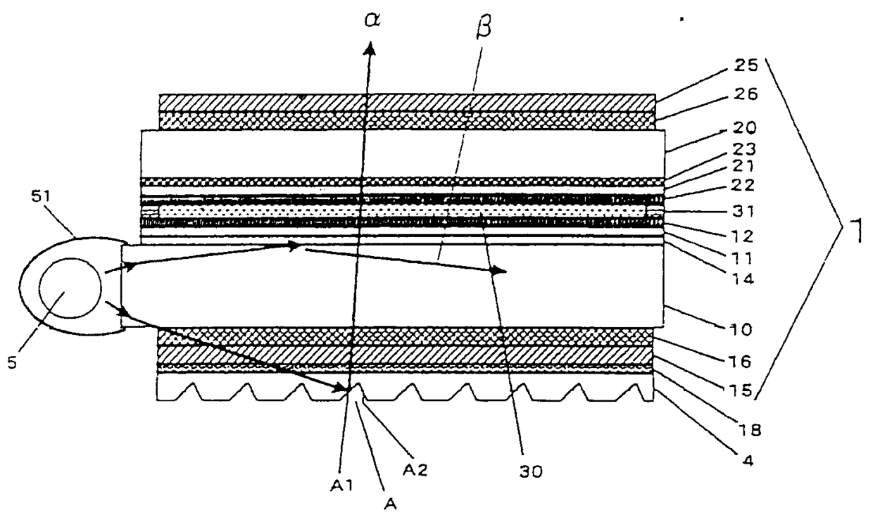
标题:
액정 표시 장치
授权日:
1900-01-01
公开(公告)号:
KR1020010112116A
申请日:
2001-06-14
公开(公告)日:
2001-12-20
当前申请(专利权)人:
닛토덴코 가부시키가이샤
发明人:
UMEMOTO,SEIJI
简单同族:
DE60143002D1 | EP1168051A1 | EP1168051B1 | JP2001356327A | JP4439084B2 | KR100681092B1 | KR1020010112116A | TWI294544B | US20020039155A1 | US6950155
简单同族成员数量:
10
简单同族被引用专利总数:
77
诉讼案件数:
0
法律状态/事件:
未缴年费