首页
专利数据库
产业人才
行业动态
产业政策法规
维权援助
个人中心
登录/注册
详情
文本
图像
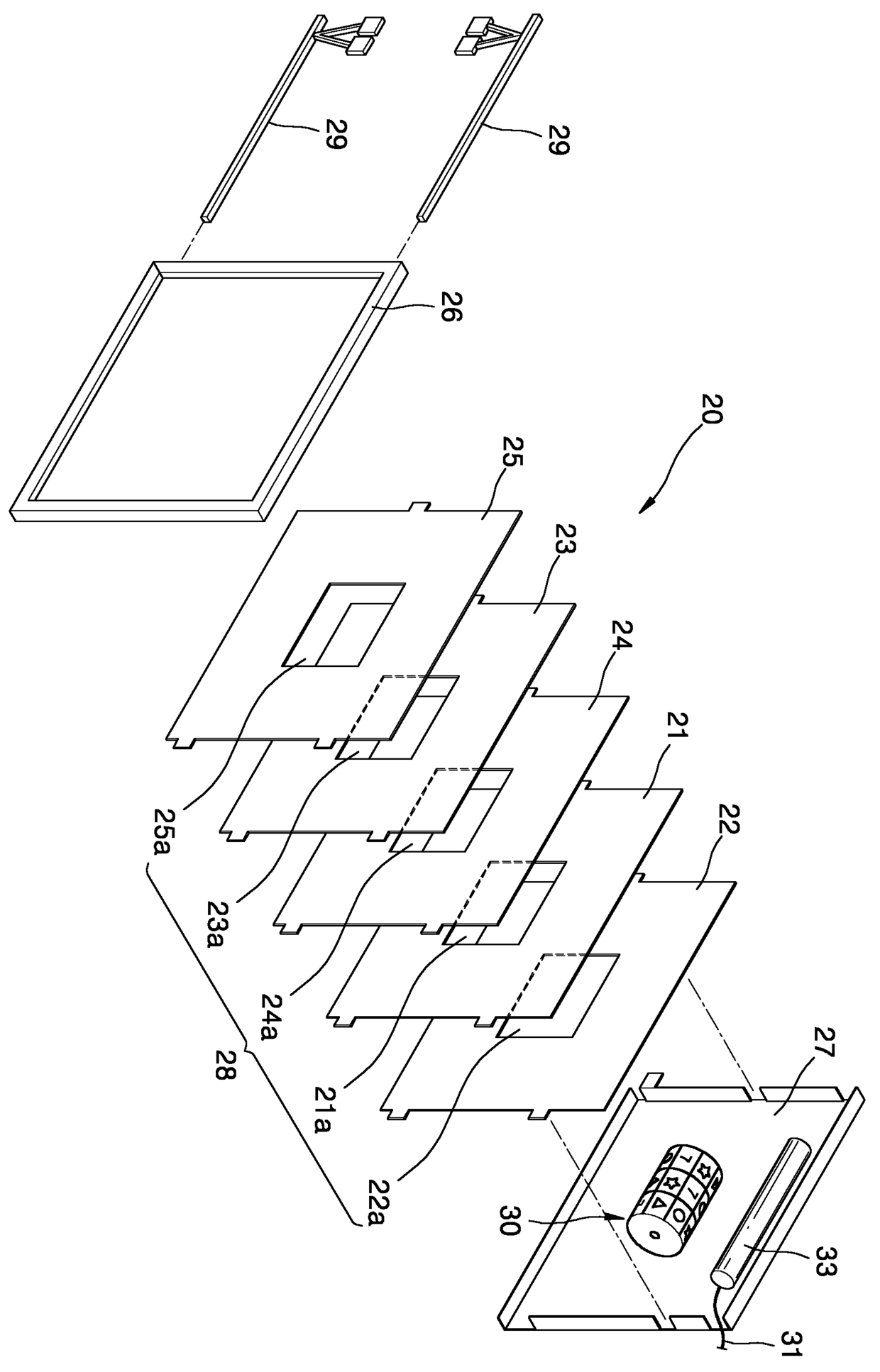
标题:
내부화면창을 구비한 액정표시장치
授权日:
2004-06-16
公开(公告)号:
KR200354621Y1
申请日:
2004-04-09
公开(公告)日:
2004-06-30
当前申请(专利权)人:
성대군
发明人:
SEONG, DAE GOON TONY
简单同族:
KR200354621Y1
简单同族成员数量:
1
简单同族被引用专利总数:
0
诉讼案件数:
0
法律状态/事件:
放弃