首页
专利数据库
产业人才
行业动态
产业政策法规
维权援助
个人中心
登录/注册
详情
文本
图像
标题:
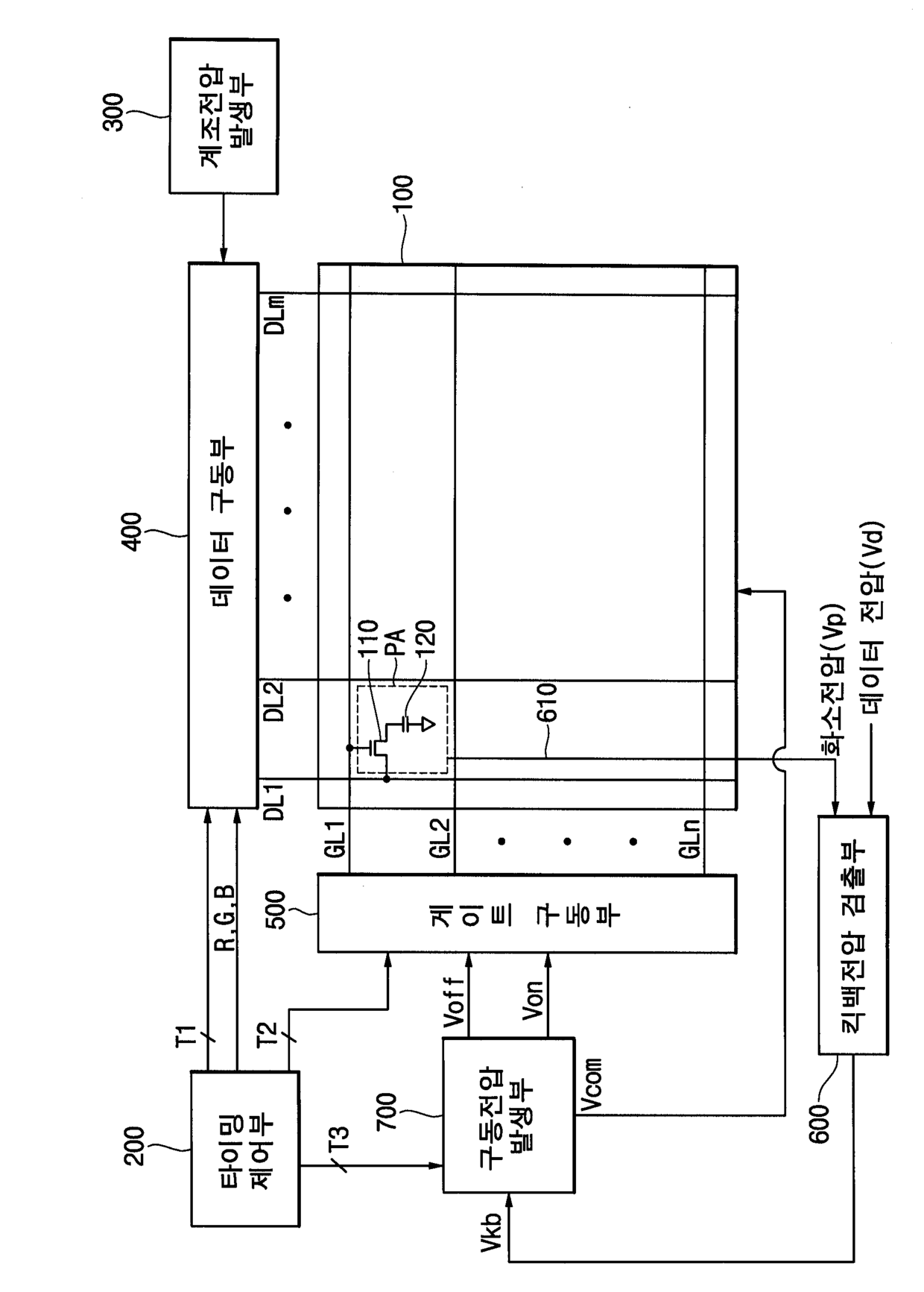
액정표시장치 및 이의 구동방법
授权日:
1900-01-01
公开(公告)号:
KR1020060128143A
申请日:
2005-06-09
公开(公告)日:
2006-12-14
当前申请(专利权)人:
삼성전자주식회사
发明人:
이요한 | 조경식 | 문효윤 | 이성희 | 김형희
简单同族:
KR1020060128143A
简单同族成员数量:
1
简单同族被引用专利总数:
0
诉讼案件数:
0
法律状态/事件:
撤回