首页
专利数据库
产业人才
行业动态
产业政策法规
维权援助
个人中心
登录/注册
详情
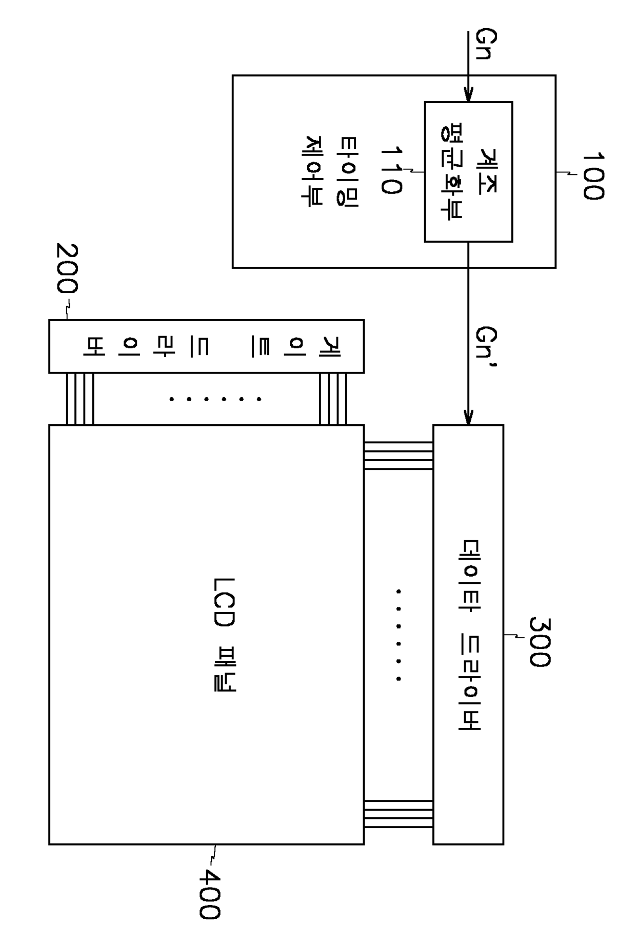
文本
图像
标题:
광시야각 모드용 액정 표시 장치와 이의 구동 방법
授权日:
2008-02-18
公开(公告)号:
KR100806901B1
申请日:
2001-09-03
公开(公告)日:
2008-02-22
当前申请(专利权)人:
삼성전자주식회사
发明人:
김상일 | 박철우 | 양영철
简单同族:
CN1221934C | CN1404029A | JP2003099017A | JP4558263B2 | KR100806901B1 | KR1020030020153A | TWI233586B | US20030058211A1 | US7205970
简单同族成员数量:
9
简单同族被引用专利总数:
89
诉讼案件数:
0
法律状态/事件:
未缴年费 | 权利转移