首页
专利数据库
产业人才
行业动态
产业政策法规
维权援助
个人中心
登录/注册
详情
文本
图像
标题:
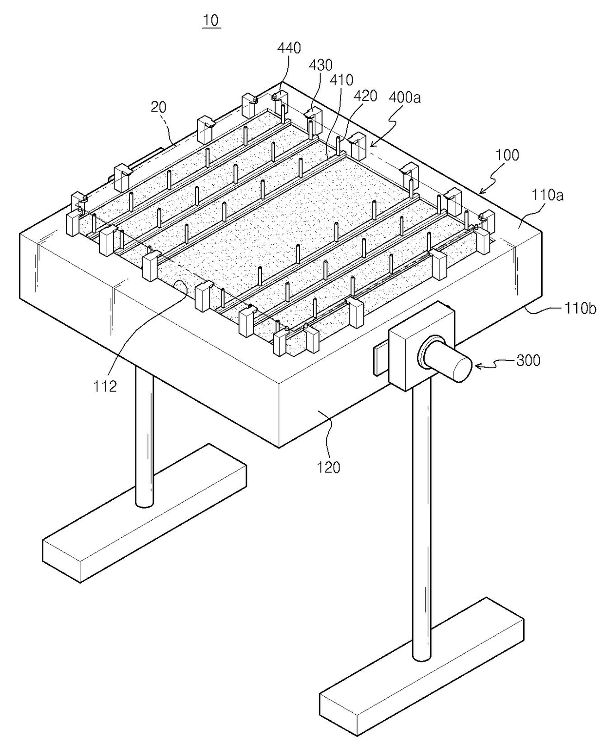
액정표시패널의 외관 검사 장치 및 방법
授权日:
2008-07-14
公开(公告)号:
KR100847293B1
申请日:
2007-03-29
公开(公告)日:
2008-07-21
当前申请(专利权)人:
(주)리드
发明人:
BAE,SANG DEOK
简单同族:
KR100847293B1
简单同族成员数量:
1
简单同族被引用专利总数:
0
诉讼案件数:
0
法律状态/事件:
授权