首页
专利数据库
产业人才
行业动态
产业政策法规
维权援助
个人中心
登录/注册
详情
文本
图像
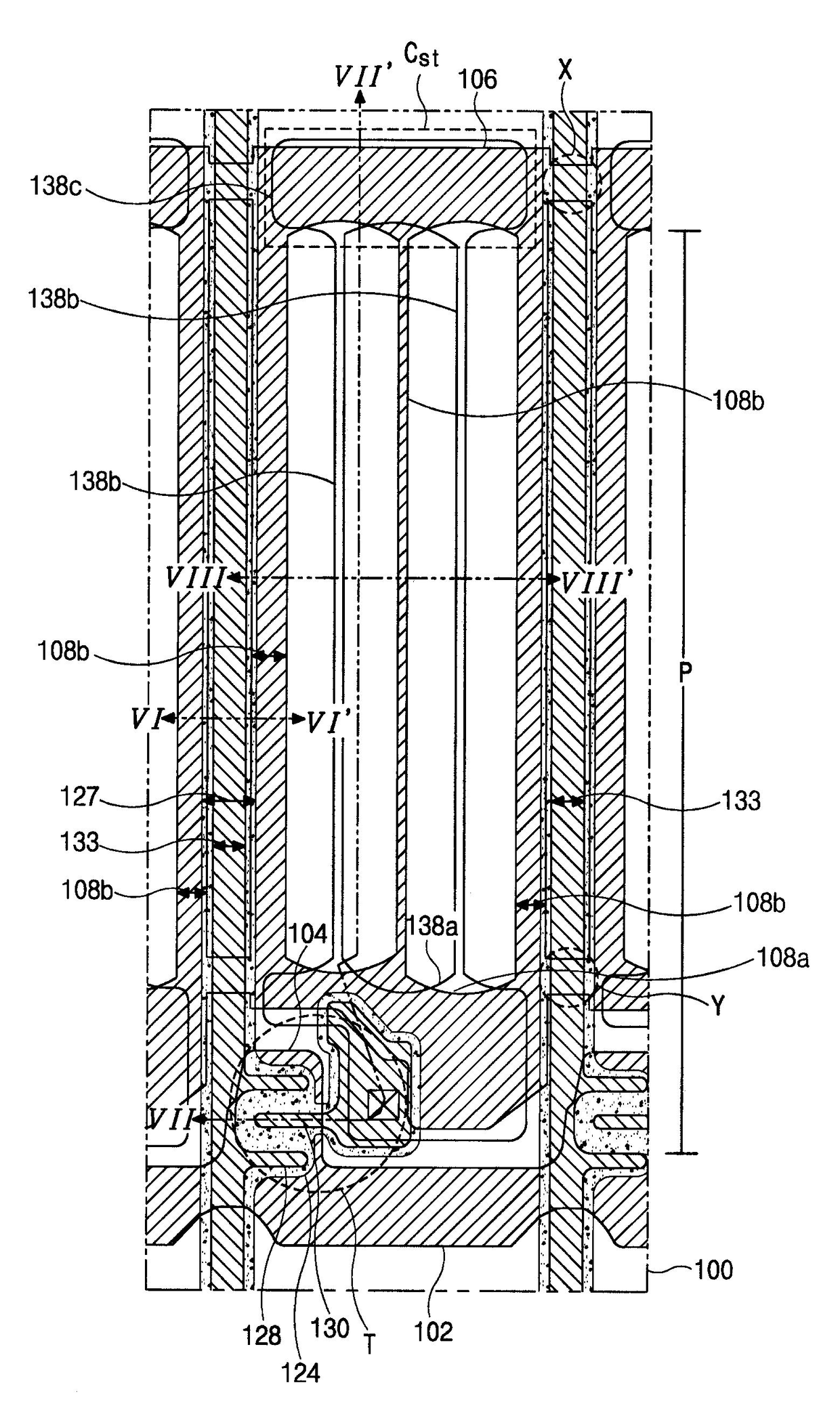
标题:
횡전계방식 액정표시장치용 어레이기판과 그 제조방법
授权日:
2009-03-31
公开(公告)号:
KR100892087B1
申请日:
2002-10-28
公开(公告)日:
2009-04-06
当前申请(专利权)人:
엘지디스플레이 주식회사
发明人:
KANG,JINGYU
简单同族:
KR100892087B1 | KR1020040037343A | US20040080700A1 | US6900872
简单同族成员数量:
4
简单同族被引用专利总数:
73
诉讼案件数:
0
法律状态/事件:
授权