首页
专利数据库
产业人才
行业动态
产业政策法规
维权援助
个人中心
登录/注册
详情
文本
图像
标题:
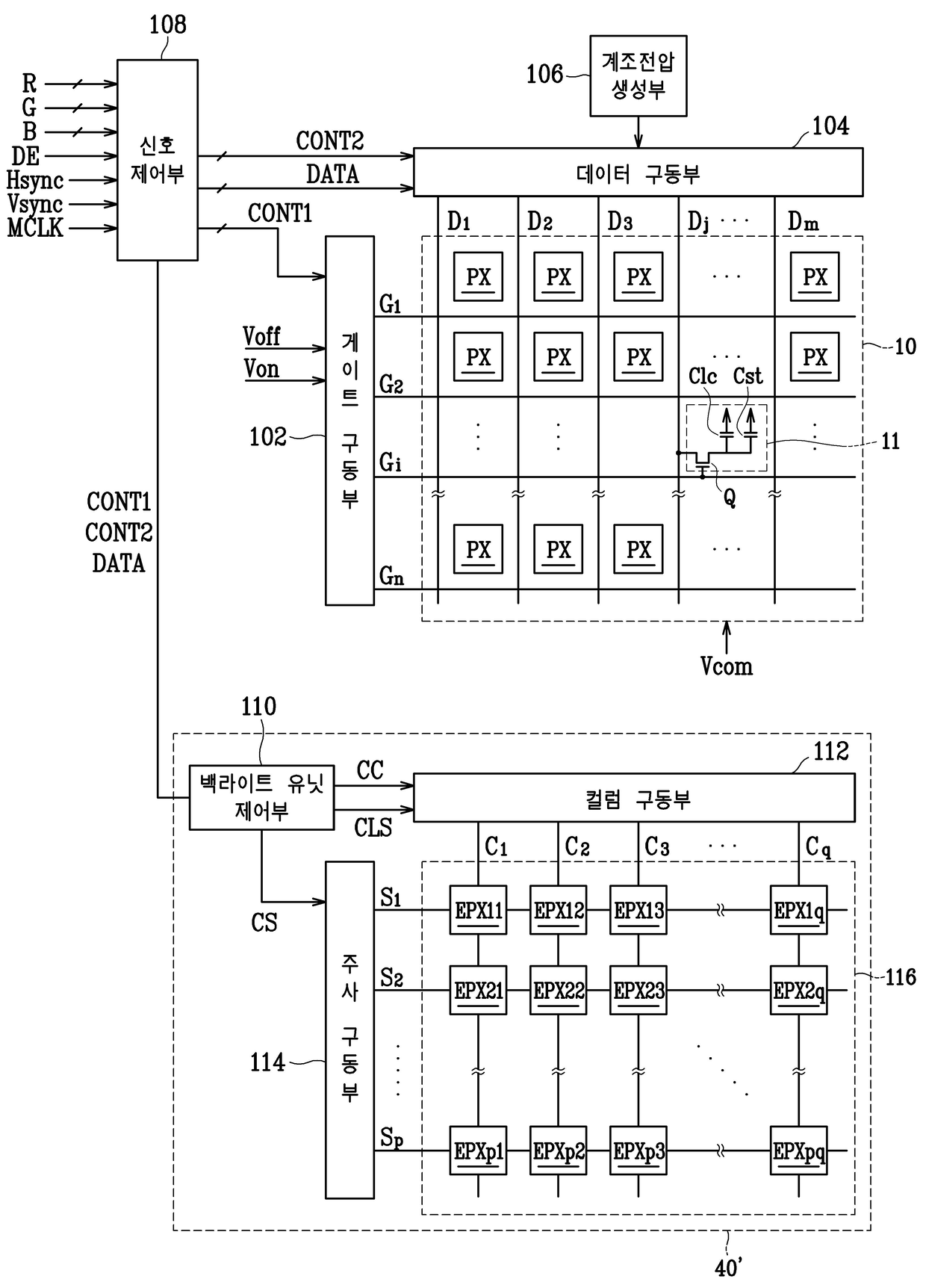
표시 장치 및 그 구동방법
授权日:
1900-01-01
公开(公告)号:
KR1020080080867A
申请日:
2007-03-02
公开(公告)日:
2008-09-05
当前申请(专利权)人:
삼성에스디아이 주식회사
发明人:
문주일 | 김헌수 | 이병곤 | 정규원 | 구본각
简单同族:
KR1020080080867A
简单同族成员数量:
1
简单同族被引用专利总数:
0
诉讼案件数:
0
法律状态/事件:
撤回