首页
专利数据库
产业人才
行业动态
产业政策法规
维权援助
个人中心
登录/注册
详情
文本
图像
标题:
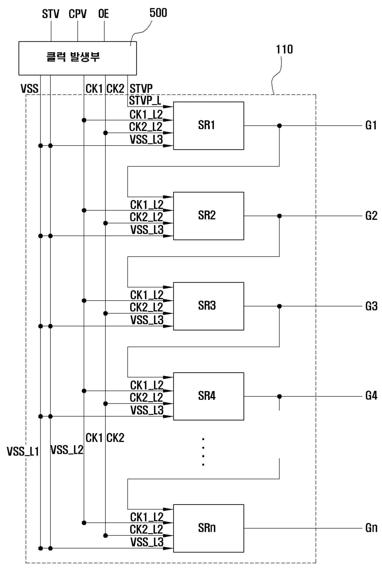
액정 표시 장치용 박막 트랜지스터 기판
授权日:
1900-01-01
公开(公告)号:
KR1020060007949A
申请日:
2004-07-23
公开(公告)日:
2006-01-26
当前申请(专利权)人:
삼성전자주식회사
发明人:
박행원 | 문승환
简单同族:
KR1020060007949A
简单同族成员数量:
1
简单同族被引用专利总数:
0
诉讼案件数:
0
法律状态/事件:
撤回