首页
专利数据库
产业人才
行业动态
产业政策法规
维权援助
个人中心
登录/注册
详情
文本
图像
标题:
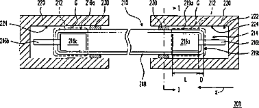
光源装置、侧边式背光模块、液晶显示模块及液晶显示器
授权日:
1900-01-01
公开(公告)号:
CN101344676A
申请日:
2007-07-10
公开(公告)日:
2009-01-14
当前申请(专利权)人:
奇美电子股份有限公司
发明人:
谢佳宏 | 陈永淦
简单同族:
CN101344676A
简单同族成员数量:
1
简单同族被引用专利总数:
0
诉讼案件数:
0
法律状态/事件:
撤回