首页
专利数据库
产业人才
行业动态
产业政策法规
维权援助
个人中心
登录/注册
详情
文本
图像
标题:
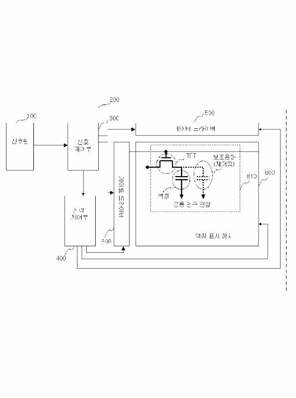
정지화상 대응 액정 디스플레이 장치 및 그 개구율 향상방법
授权日:
1900-01-01
公开(公告)号:
KR1020020057406A
申请日:
2001-01-04
公开(公告)日:
2002-07-11
当前申请(专利权)人:
삼성전자주식회사
发明人:
김파
简单同族:
KR1020020057406A
简单同族成员数量:
1
简单同族被引用专利总数:
0
诉讼案件数:
0
法律状态/事件:
驳回