首页
专利数据库
产业人才
行业动态
产业政策法规
维权援助
个人中心
登录/注册
详情
文本
图像
标题:
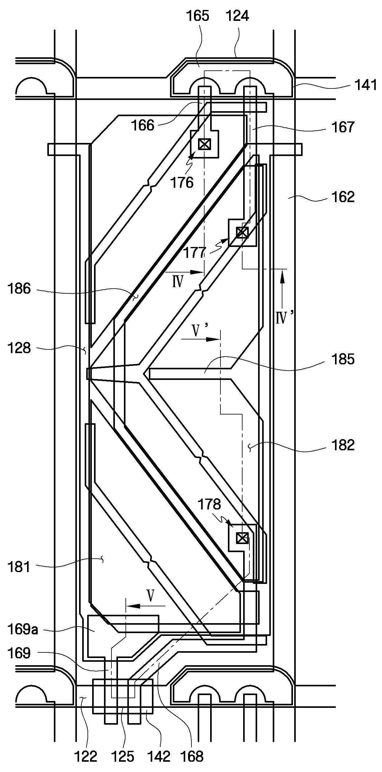
액정 표시 장치
授权日:
1900-01-01
公开(公告)号:
KR1020080010987A
申请日:
2006-07-28
公开(公告)日:
2008-01-31
当前申请(专利权)人:
삼성디스플레이 주식회사
发明人:
AHN, SOON IL
简单同族:
CN101114094A | CN101114094B | JP2008033218A | JP5190583B2 | KR101295298B1 | KR1020080010987A | US20080024689A1 | US7532269
简单同族成员数量:
8
简单同族被引用专利总数:
121
诉讼案件数:
0
法律状态/事件:
授权