首页
专利数据库
产业人才
行业动态
产业政策法规
维权援助
个人中心
登录/注册
详情
文本
图像
标题:
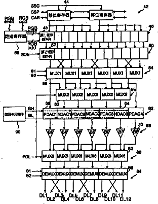
对液晶显示器进行数据驱动的装置和方法
授权日:
2008-01-09
公开(公告)号:
CN100361185C
申请日:
2002-11-08
公开(公告)日:
2008-01-09
当前申请(专利权)人:
乐金显示有限公司
发明人:
安承国
简单同族:
CN100361185C | CN1417771A | JP2003280616A | JP4420174B2 | US20030090451A1 | US20060077164A1 | US7006072 | US7746310
简单同族成员数量:
8
简单同族被引用专利总数:
121
诉讼案件数:
0
法律状态/事件:
授权