首页
专利数据库
产业人才
行业动态
产业政策法规
维权援助
个人中心
登录/注册
详情
文本
图像
标题:
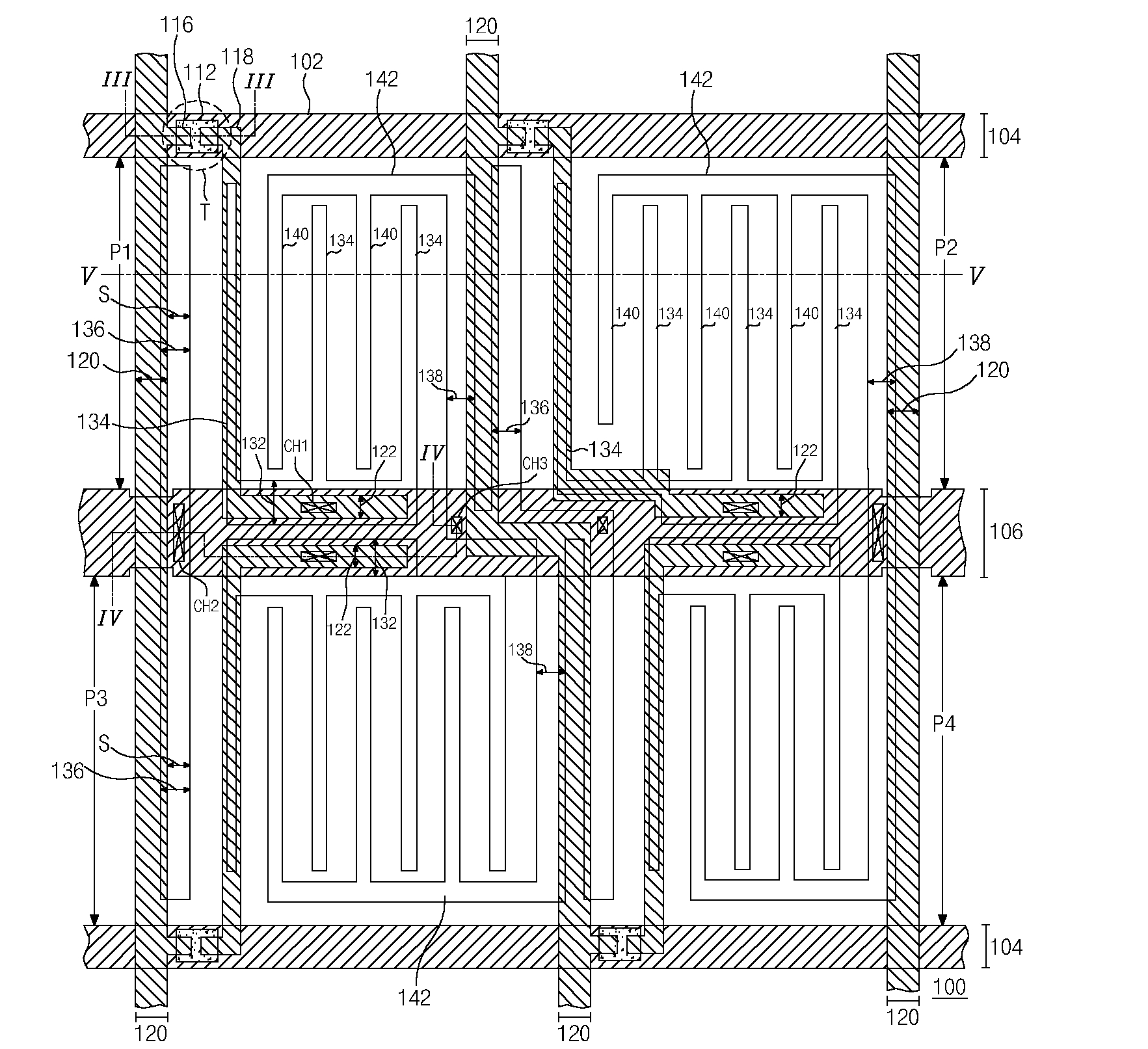
횡전계 방식 액정표시장치용 어레이기판과 그 제조방법
授权日:
1900-01-01
公开(公告)号:
KR1020050056701A
申请日:
2003-12-10
公开(公告)日:
2005-06-16
当前申请(专利权)人:
엘지디스플레이 주식회사
发明人:
손현호 | 백흠일
简单同族:
KR100594863B1 | KR1020050056701A | US20050128413A1 | US20060256269A1 | US7139058 | US7719652
简单同族成员数量:
6
简单同族被引用专利总数:
75
诉讼案件数:
0
法律状态/事件:
授权