首页
专利数据库
产业人才
行业动态
产业政策法规
维权援助
个人中心
登录/注册
详情
文本
图像
标题:
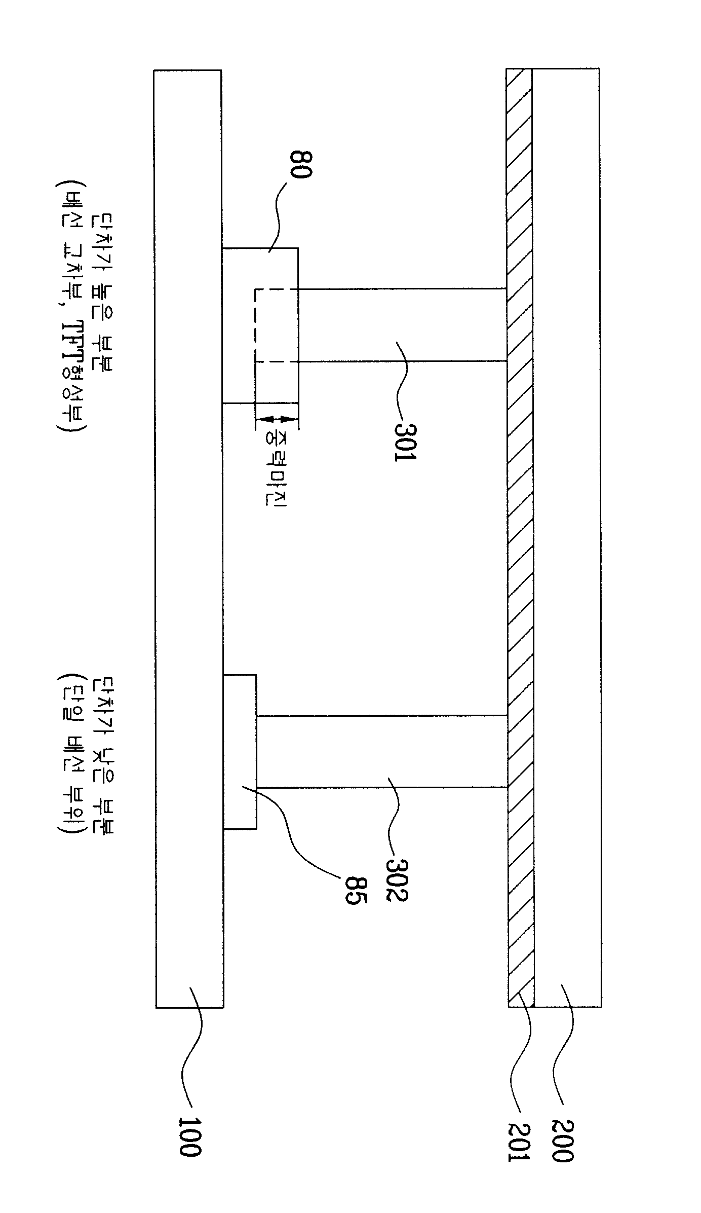
액정 표시 장치 및 이의 제조 방법
授权日:
1900-01-01
公开(公告)号:
KR1020050087414A
申请日:
2004-02-26
公开(公告)日:
2005-08-31
当前申请(专利权)人:
엘지디스플레이 주식회사
发明人:
LIM,KYOUNGNAM
简单同族:
CN100373238C | CN1661426A | JP2005242310A | JP4391928B2 | KR100617039B1 | KR1020050087414A | TW200528797A | TWI290644B | US20050190338A1 | US7492436
简单同族成员数量:
10
简单同族被引用专利总数:
76
诉讼案件数:
0
法律状态/事件:
授权