标题:
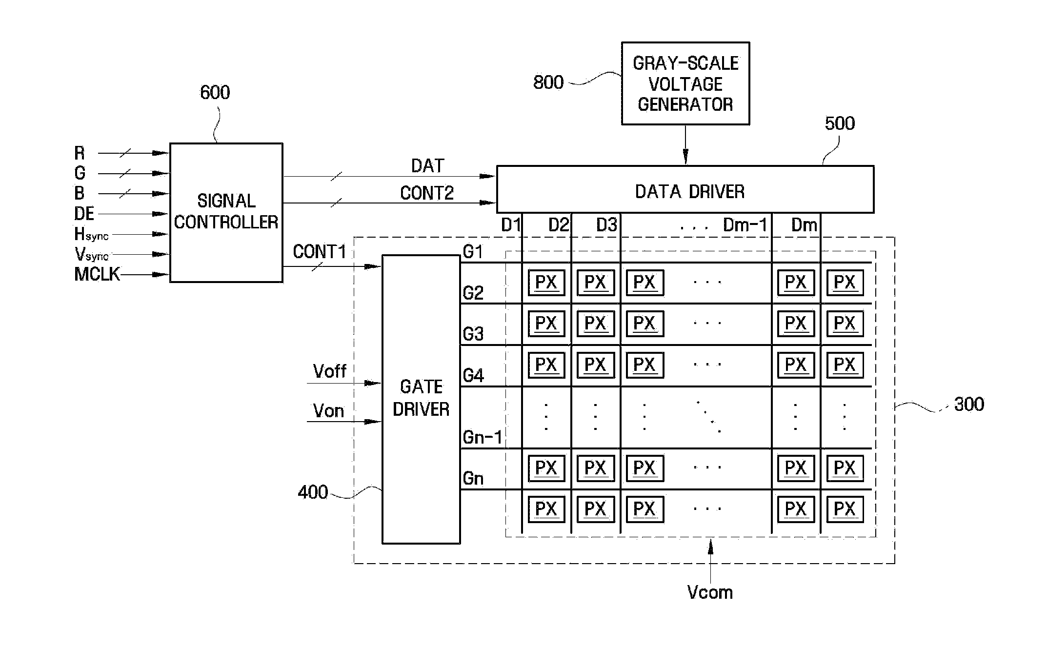
Liquid crystal display and method of driving the same
授权日:
1900-01-01
公开(公告)号:
US20110181804A1
申请日:
2011-04-06
公开(公告)日:
2011-07-28
当前申请(专利权)人:
SAMSUNG DISPLAY CO., LTD.
发明人:
YOU, HYE-RAN | PARK, SEUNG-BEOM | UM, YOON-SUNG | PARK, JIN-WON | DO, HEE-WOOK | KIM, HOON
简单同族:
CN101354512A | CN101354512B | KR101358334B1 | KR1020090010764A | US20090027581A1 | US20110181804A1 | US20130328850A1 | US7940346 | US8520160 | US9466248
简单同族成员数量:
10
简单同族被引用专利总数:
139
诉讼案件数:
0
法律状态/事件:
授权 | 权利转移