首页
专利数据库
产业人才
行业动态
产业政策法规
维权援助
个人中心
登录/注册
详情
文本
图像
标题:
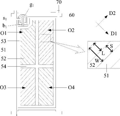
Liquid crystal display panel and array substrate thereof wherein a width of bar-shaped gaps in each of a plurality of pixel units increases gradually
授权日:
2016-02-02
公开(公告)号:
US9250485
申请日:
2014-10-17
公开(公告)日:
2016-02-02
当前申请(专利权)人:
SHENZHEN CHINA STAR OPTOELECTRONICS TECHNOLOGY CO., LTD.
发明人:
ZHENG, HUA
简单同族:
US9250485
简单同族成员数量:
1
简单同族被引用专利总数:
0
诉讼案件数:
0
法律状态/事件:
授权 | 权利转移