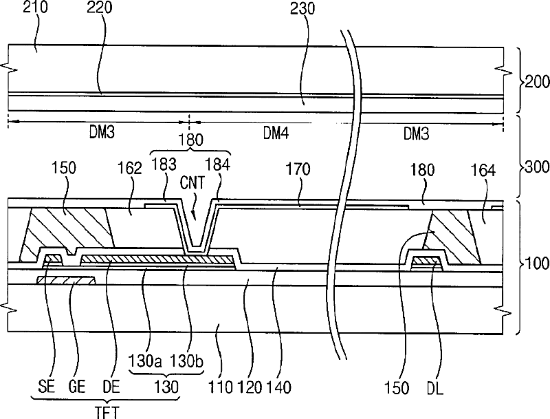
标题:
Alignment substrate for aligning liquid crystal molecules, liquid crystal display panel having the same, and method of manufacturing the alignment substrate
授权日:
1900-01-01
公开(公告)号:
US20130182204A1
申请日:
2013-03-07
公开(公告)日:
2013-07-18
当前申请(专利权)人:
SAMSUNG DISPLAY CO., LTD.
发明人:
SHIN, YONG-HWAN | JEON, BAEK-KYUN | KIM, KYOUNG-TAE | SEO, BONG-SUN | JUNG, MEE-HYE | KIM, YOUNG-GU | JUNG, MIN-SIK | SUNG, BYOUNG-HUN | CHOI, JEONG-HYE | KIM, SUNG-YI
简单同族:
CN101762909A | CN101762909B | JP2010146008A | JP2015092291A | JP5926828B2 | KR101612480B1 | KR1020100072682A | TW201030428A | TWI578071B | US20100157223A1 | US20130182204A1 | US8395736 | US9229274
简单同族成员数量:
13
简单同族被引用专利总数:
73
诉讼案件数:
0
法律状态/事件:
授权