首页
专利数据库
产业人才
行业动态
产业政策法规
维权援助
个人中心
登录/注册
详情
文本
图像
标题:
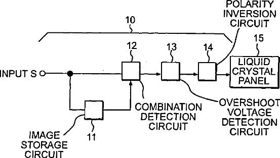
Liquid crystal display device
授权日:
2006-08-01
公开(公告)号:
US7084846
申请日:
2003-07-18
公开(公告)日:
2006-08-01
当前申请(专利权)人:
SHARP KABUSHIKI KAISHA
发明人:
ADACHI, TAKAKO | SHIOMI, MAKOTO
简单同族:
KR100641249B1 | KR100676479B1 | KR1020010093773A | KR1020060080574A | TW513598B | US20010038369A1 | US20040017343A1 | US7084846
简单同族成员数量:
8
简单同族被引用专利总数:
107
诉讼案件数:
0
法律状态/事件:
授权