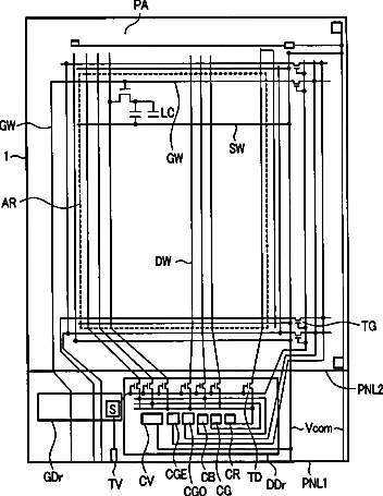
标题:
Liquid crystal display device
授权日:
2007-07-31
公开(公告)号:
US7251009
申请日:
2005-03-17
公开(公告)日:
2007-07-31
当前申请(专利权)人:
PANASONIC LIQUID CRYSTAL DISPLAY CO., LTD.
发明人:
HAYATA, HIROKO | ISHIGE, NOBUYUKI | KOMENO, HITOSHI
简单同族:
CN1237385C | CN1482508A | CN1782788A | CN1782788B | JP2004101863A | JP2004101863A5 | JP4006304B2 | US20040046920A1 | US20050157243A1 | US20070252830A1 | US6882397 | US7251009 | US7916261
简单同族成员数量:
13
简单同族被引用专利总数:
141
诉讼案件数:
0
法律状态/事件:
授权 | 权利转移