标题:
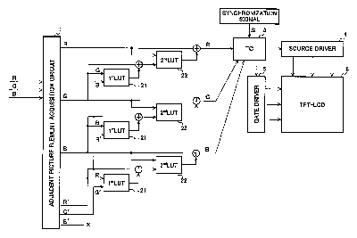
Crosstalk elimination circuit, liquid crystal display apparatus, and display control method
授权日:
2010-08-10
公开(公告)号:
US7773049
申请日:
2005-05-09
公开(公告)日:
2010-08-10
当前申请(专利权)人:
SHARP KABUSHIKI KAISHA
发明人:
UENO, MASAFUMI | KONDO, NAOKO | FURUKAWA, HIROYUKI | YOSHIDA, YASUHIRO
简单同族:
EP1768095A1 | EP1768095A4 | JP2006023710A | JP3792246B2 | TW200601256A | TWI312145B | US20070222724A1 | US7773049 | WO2005111979A1
简单同族成员数量:
9
简单同族被引用专利总数:
73
诉讼案件数:
0
法律状态/事件:
授权 | 权利转移