首页
专利数据库
产业人才
行业动态
产业政策法规
维权援助
个人中心
登录/注册
详情
文本
图像
标题:
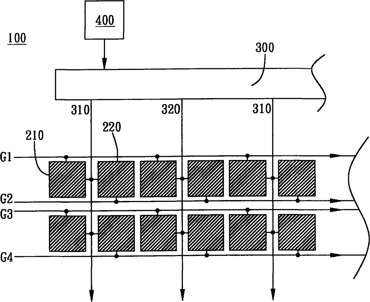
像素驱动装置、像素驱动方法及包含该像素驱动装置的液晶显示装置
授权日:
1900-01-01
公开(公告)号:
CN102222476A
申请日:
2010-04-19
公开(公告)日:
2011-10-19
当前申请(专利权)人:
瑞鼎科技股份有限公司
发明人:
余俊霖 | 刘冠宏 | 许文法
简单同族:
CN102222476A
简单同族成员数量:
1
简单同族被引用专利总数:
0
诉讼案件数:
0
法律状态/事件:
撤回