首页
专利数据库
产业人才
行业动态
产业政策法规
维权援助
个人中心
登录/注册
详情
文本
图像
标题:
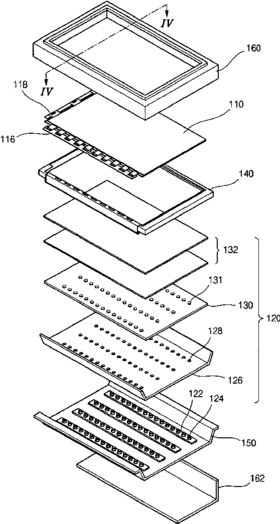
Liquid crystal display device
授权日:
2016-06-07
公开(公告)号:
US9360703
申请日:
2006-12-13
公开(公告)日:
2016-06-07
当前申请(专利权)人:
LG DISPLAY CO. LTD.
发明人:
HONG, HEE-JUNG
简单同族:
CN100510898C | CN101004516A | KR101248899B1 | KR1020070076879A | US20070171353A1 | US9360703
简单同族成员数量:
6
简单同族被引用专利总数:
77
诉讼案件数:
0
法律状态/事件:
授权 | 权利转移