首页
专利数据库
产业人才
行业动态
产业政策法规
维权援助
个人中心
登录/注册
详情
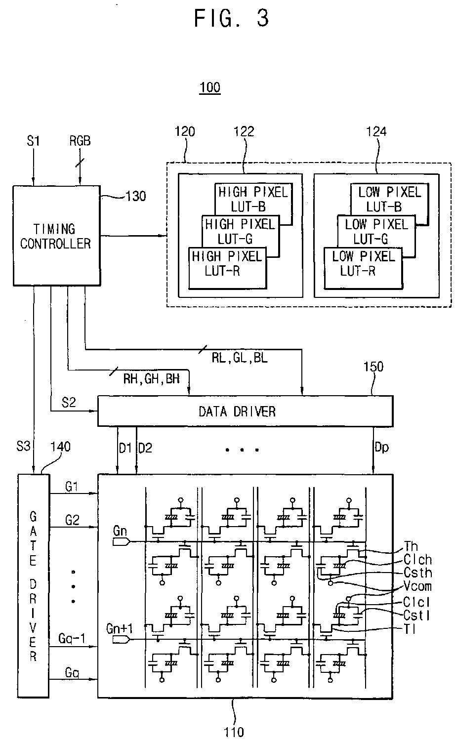
文本
图像
标题:
Liquid crystal display device
授权日:
1900-01-01
公开(公告)号:
EP1826746A2
申请日:
2007-01-31
公开(公告)日:
2007-08-29
当前申请(专利权)人:
SAMSUNG DISPLAY CO., LTD.
发明人:
LEE, JUN-PYO
简单同族:
CN101025494A | CN101025494B | EP1826746A2 | EP1826746A3 | EP1826746B1 | JP2007226242A | JP5021334B2 | KR101206724B1 | KR1020070087288A | US20080036718A1 | US7973751
简单同族成员数量:
11
简单同族被引用专利总数:
74
诉讼案件数:
0
法律状态/事件:
授权 | 权利转移