首页
专利数据库
产业人才
行业动态
产业政策法规
维权援助
个人中心
登录/注册
详情
文本
图像
标题:
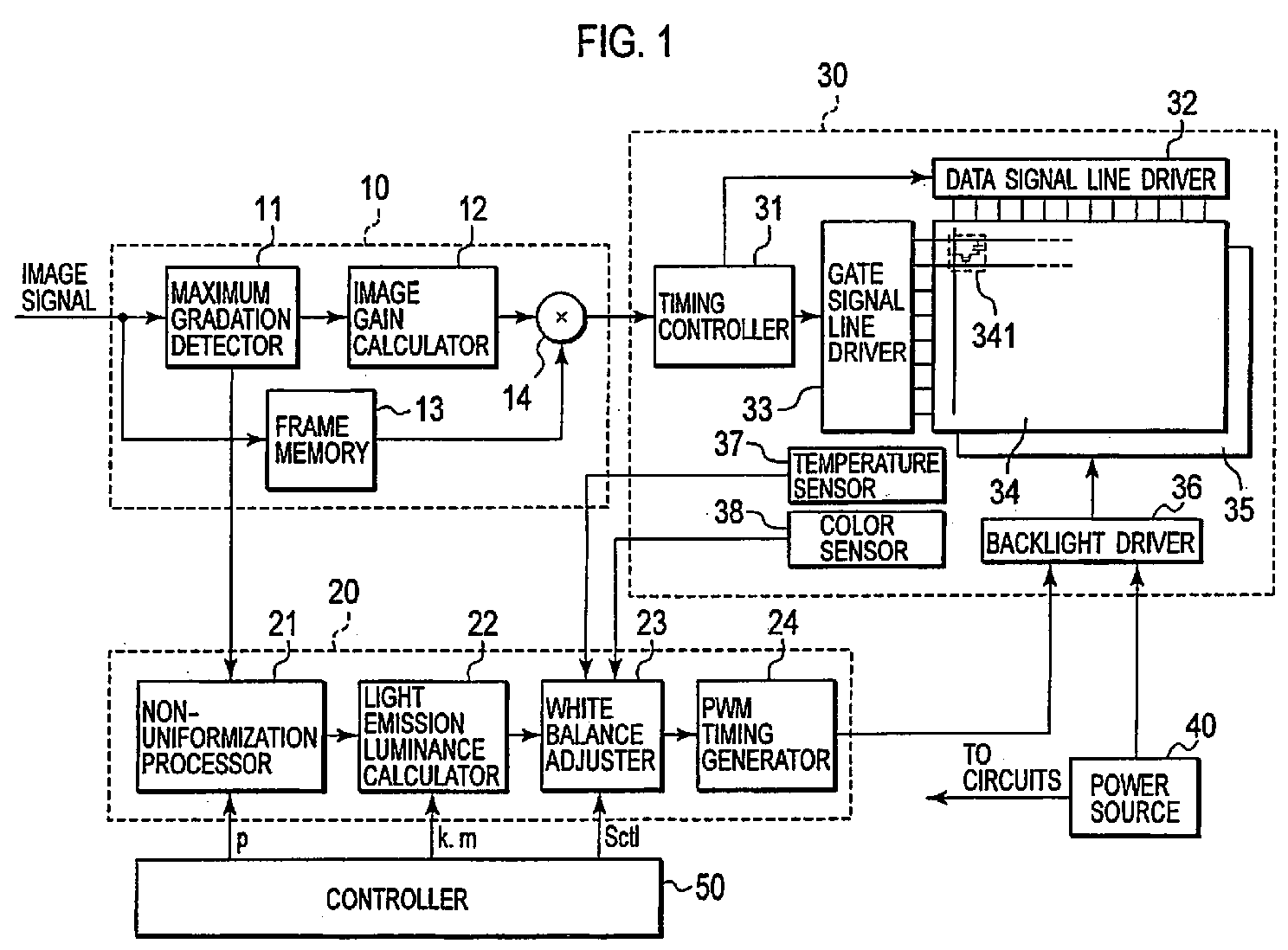
Liquid crystal display device and image display method thereof
授权日:
1900-01-01
公开(公告)号:
EP1990796A2
申请日:
2008-03-13
公开(公告)日:
2008-11-12
当前申请(专利权)人:
JVC KENWOOD CORPORATION
发明人:
OHSHIMA, YOSHINORI
简单同族:
EP1990796A2 | EP1990796A3 | KR100885285B1 | KR1020080099116A | US20080278432A1 | US8139020
简单同族成员数量:
6
简单同族被引用专利总数:
87
诉讼案件数:
0
法律状态/事件:
驳回 | 权利转移