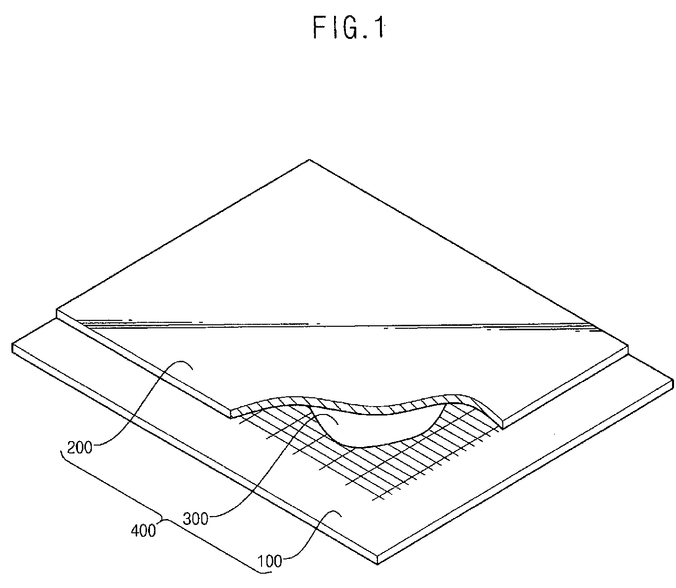
标题:
Distortion resistant touch-sensitive display panel
授权日:
1900-01-01
公开(公告)号:
EP1882975A1
申请日:
2007-07-20
公开(公告)日:
2008-01-30
当前申请(专利权)人:
SAMSUNG DISPLAY CO., LTD.
发明人:
KIM, DONG-GYU
简单同族:
CN101114656A | CN101114656B | EP1882975A1 | JP2008033265A | JP5230966B2 | KR101297804B1 | KR1020080009796A | US20080024712A1 | US20100085500A1 | US7649605 | US8102496
简单同族成员数量:
11
简单同族被引用专利总数:
93
诉讼案件数:
0
法律状态/事件:
实质审查 | 权利转移