首页
专利数据库
产业人才
行业动态
产业政策法规
维权援助
个人中心
登录/注册
详情
文本
图像
标题:
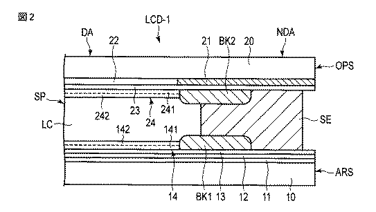
液晶表示装置
授权日:
1900-01-01
公开(公告)号:
JP2017194603A
申请日:
2016-04-21
公开(公告)日:
2017-10-26
当前申请(专利权)人:
株式会社ジャパンディスプレイ
发明人:
塚根 みどり | 日向野 敏行 | 新木 盛右 | 西山 和廣 | 分元 博文
简单同族:
JP2017194603A
简单同族成员数量:
1
简单同族被引用专利总数:
0
诉讼案件数:
0
法律状态/事件:
公开