首页
专利数据库
产业人才
行业动态
产业政策法规
维权援助
个人中心
登录/注册
详情
文本
图像
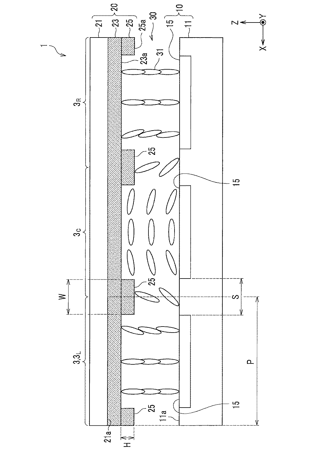
标题:
液晶表示素子及び空間光変調器
授权日:
1900-01-01
公开(公告)号:
JP2019144423A
申请日:
2018-02-21
公开(公告)日:
2019-08-29
当前申请(专利权)人:
日本放送協会
发明人:
町田 賢司 | 麻生 慎太郎 | 青島 賢一 | 船橋 信彦 | 菊池 宏
简单同族:
JP2019144423A
简单同族成员数量:
1
简单同族被引用专利总数:
0
诉讼案件数:
0
法律状态/事件:
公开