首页
专利数据库
产业人才
行业动态
产业政策法规
维权援助
个人中心
登录/注册
详情
文本
图像
标题:
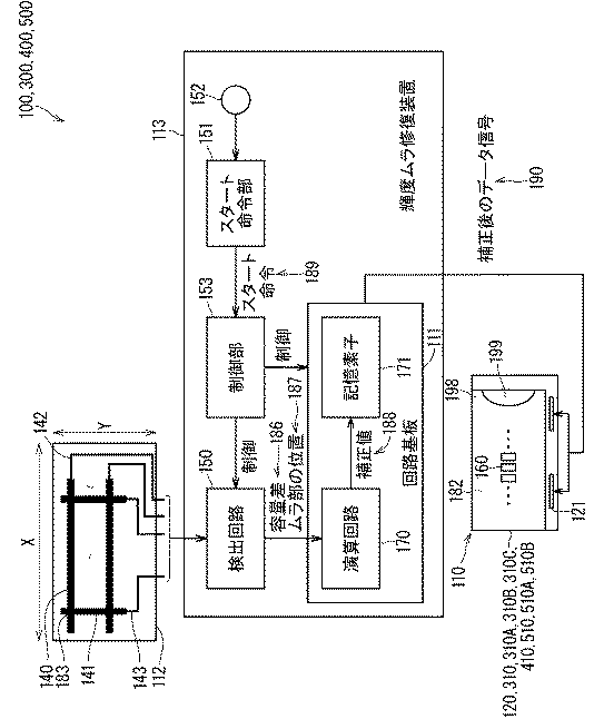
輝度ムラ修復装置、液晶表示装置及び液晶表示装置の製造方法
授权日:
1900-01-01
公开(公告)号:
JP2020095198A
申请日:
2018-12-14
公开(公告)日:
2020-06-18
当前申请(专利权)人:
三菱電機株式会社
发明人:
吉良 修一 | 橋口 隆史
简单同族:
JP2020095198A
简单同族成员数量:
1
简单同族被引用专利总数:
0
诉讼案件数:
0
法律状态/事件:
公开