首页
专利数据库
产业人才
行业动态
产业政策法规
维权援助
个人中心
登录/注册
详情
文本
图像
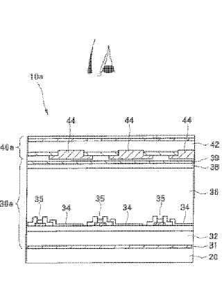
标题:
画像表示装置及び発光装置
授权日:
1900-01-01
公开(公告)号:
JP2007179078A
申请日:
2007-03-16
公开(公告)日:
2007-07-12
当前申请(专利权)人:
株式会社東芝
发明人:
河本 聡 | 石川 正行 | 梅地 正 | 紺野 邦明 | 新田 康一 | 岡崎 治彦
简单同族:
JP2007179078A
简单同族成员数量:
1
简单同族被引用专利总数:
0
诉讼案件数:
0
法律状态/事件:
驳回