首页
专利数据库
产业人才
行业动态
产业政策法规
维权援助
个人中心
登录/注册
详情
文本
图像
标题:
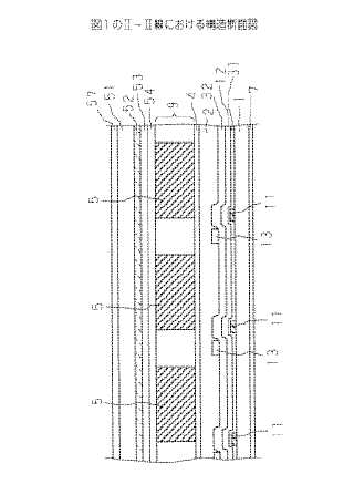
液晶表示素子
授权日:
1900-01-01
公开(公告)号:
JP2004093963A
申请日:
2002-08-30
公开(公告)日:
2004-03-25
当前申请(专利权)人:
富士通株式会社
发明人:
白戸 博紀 | 吉原 敏明 | 只木 進二 | 牧野 哲也 | 清田 芳則
简单同族:
JP2004093963A
简单同族成员数量:
1
简单同族被引用专利总数:
0
诉讼案件数:
0
法律状态/事件:
驳回