标题:
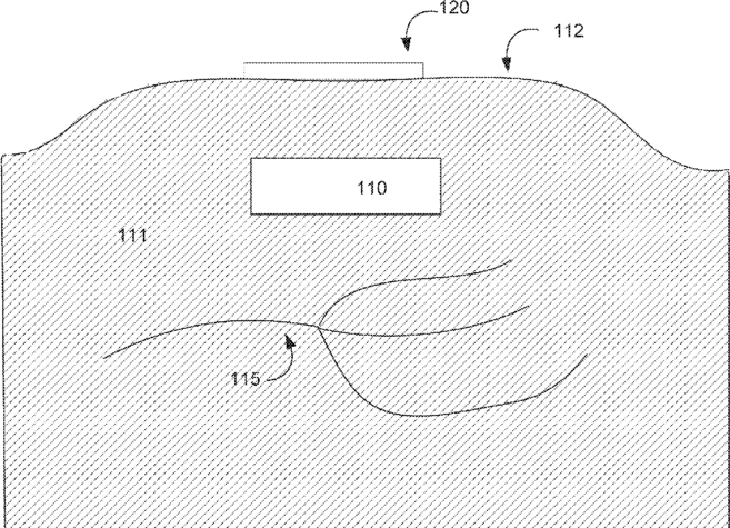
Head pain management device having an antenna
授权日:
1900-01-01
公开(公告)号:
US20170043165A1
申请日:
2016-08-22
公开(公告)日:
2017-02-16
当前申请(专利权)人:
NYXOAH SA
发明人:
MASHIACH, ADI | MUELLER, CARSTEN
简单同族:
AU2012313958A1 | AU2012313958B2 | AU2012313961A1 | AU2012313964A1 | AU2012313964B2 | AU2012313965A1 | AU2012313965B2 | AU2012313966A1 | AU2012313966B2 | AU2012313968A1 | AU2012313969A1 | AU2012313969B2 | AU2012313970A1 | AU2012313970B2 | AU2012313974A1 | AU2012313974B2 | AU2012313975A1 | AU2012313975B2 | AU2012313979A1 | AU2012313979B2 | AU2012324558A1 | AU2012328075A1 | AU2012328080A1 | AU2012328080B2 | BR112014007607A2 | BR112014007609A2 | BR112014007612A2 | BR112014007613A2 | CA2850282A1 | CA2850289A1 | CA2850289C | CA2850292A1 | CA2850308A1 | CA2850311A1 | CA2850313A1 | CA2850313C | CA2850315A1 | CA2850317A1 | CA2850434A1 | CA2850435A1 | CA2850436A1 | CA2850438A1 | CA2850444A1 | CA2850445A1 | CA2850445C | CA3063266A1 | CN104053472A | CN104053472B | CN104053473A | CN104053473B | CN104066476A | CN104066477A | CN104066477B | CN104080510A | CN104080510B | CN105879221A | CN105879221B | CN105903122A | CN105903122B | CN106913954A | CN106913954B | CN107029348A | CN109550147A | CN109985308A | EP2760386A2 | EP2760386A4 | EP2760528A2 | EP2760528A4 | EP2760528B1 | EP2760529A2 | EP2760529A4 | EP2760529B1 | EP2760530A2 | EP2760530A4 | EP2760530B1 | EP2760531A2 | EP2760531A4 | EP2760531B1 | EP2760533A2 | EP2760533A4 | EP2760534A2 | EP2760534A4 | EP2760535A2 | EP2760535A4 | EP2760535B1 | EP2760537A2 | EP2760537A4 | EP2760538A2 | EP2760538A4 | EP3453424A1 | EP3546018A1 | HK1228321A | HK1242640A | IL231734A | IL231734D0 | IL231735A | IL231735D0 | IL231736A | IL231736D0 | IL231737A | IL231737D0 | IL231738A | IL231738D0 | IL231739A | IL231739D0 | IL231740A | IL231740D0 | IL231741A | IL231741D0 | IL231742D0 | IL231743D0 | IL231744A | IL231744D0 | IL231745A | IL231745D0 | IL231746D0 | IL231747A | IL231747D0 | JP2014528263A | JP2014528263A5 | JP2014528265A | JP2014528265A5 | JP6117215B2 | JP6129183B2 | KR1020140090608A | KR1020140090609A | KR1020140093668A | KR1020140093669A | US20130072747A1 | US20130072999A1 | US20130079843A1 | US20130085537A1 | US20130085540A1 | US20130085541A1 | US20130085542A1 | US20130085543A1 | US20130085544A1 | US20130085545A1 | US20130085547A1 | US20130085558A1 | US20130085559A1 | US20130085560A1 | US20130085561A1 | US20140100635A1 | US20140100636A1 | US20140100641A1 | US20140100642A1 | US20140107727A1 | US20140107732A1 | US20140114376A1 | US20140172061A1 | US20140207209A1 | US20140277254A1 | US20150032179A1 | US20150112402A1 | US20150202442A1 | US20150335879A1 | US20160121121A1 | US20160121122A1 | US20160235990A1 | US20170043165A1 | US20170368352A9 | US20180207424A1 | US8574164 | US8577464 | US8577465 | US8577466 | US8577467 | US8577468 | US8577472 | US8577478 | US8588941 | US8644957 | US8700183 | US8718776 | US8798773 | US8812113 | US8897895 | US8903493 | US8929999 | US8989868 | US9044612 | US9061151 | US9248290 | US9248291 | US9302093 | US9314613 | US9358392 | US9403009 | US9421372 | US9550064 | US9649493 | US9878159 | US9895540 | WO2013046032A2 | WO2013046032A3 | WO2013046032A8 | WO2013046035A2 | WO2013046035A3 | WO2013046038A2 | WO2013046038A3 | WO2013046039A2 | WO2013046039A3 | WO2013046040A2 | WO2013046040A3 | WO2013046042A2 | WO2013046042A3 | WO2013046043A2 | WO2013046043A3 | WO2013046044A2 | WO2013046044A3 | WO2013046048A2 | WO2013046048A3 | WO2013046049A2 | WO2013046049A3 | WO2013046053A2 | WO2013046053A3 | WO2013057594A2 | WO2013057594A3 | WO2013061164A2 | WO2013061164A3 | WO2013061169A2 | WO2013061169A3
简单同族成员数量:
223
简单同族被引用专利总数:
176
诉讼案件数:
0
法律状态/事件:
撤回 | 权利转移