首页
专利数据库
产业人才
行业动态
产业政策法规
维权援助
个人中心
登录/注册
详情
文本
图像
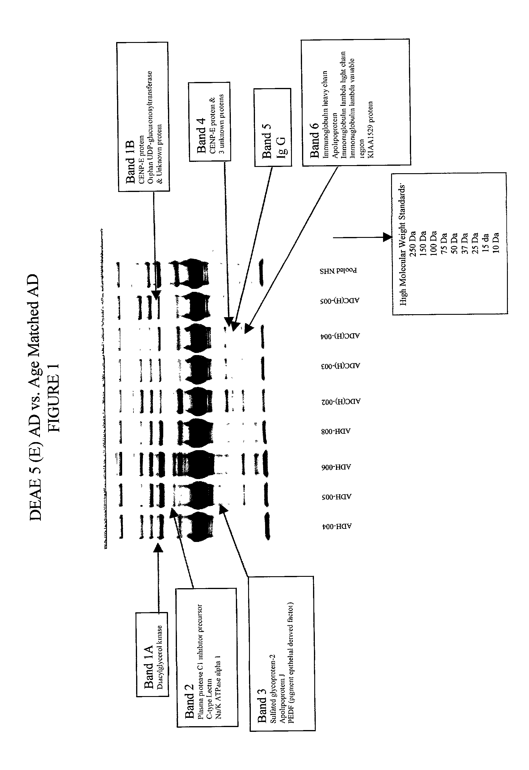
标题:
Cene-E biopolymer marker indicative of age matched control
授权日:
1900-01-01
公开(公告)号:
US20070003974A1
申请日:
2001-11-23
公开(公告)日:
2007-01-04
当前申请(专利权)人:
NANOGEN INC.
发明人:
JACKOWSKI, GEORGE | MARSHALL, JOHN
简单同族:
AU2002335970A1 | JP2005523421A | JP2005523421A5 | US20070003974A1 | WO2003045992A1
简单同族成员数量:
5
简单同族被引用专利总数:
0
诉讼案件数:
0
法律状态/事件:
撤回 | 质押 | 权利转移