首页
专利数据库
产业人才
行业动态
产业政策法规
维权援助
个人中心
登录/注册
详情
文本
图像
标题:
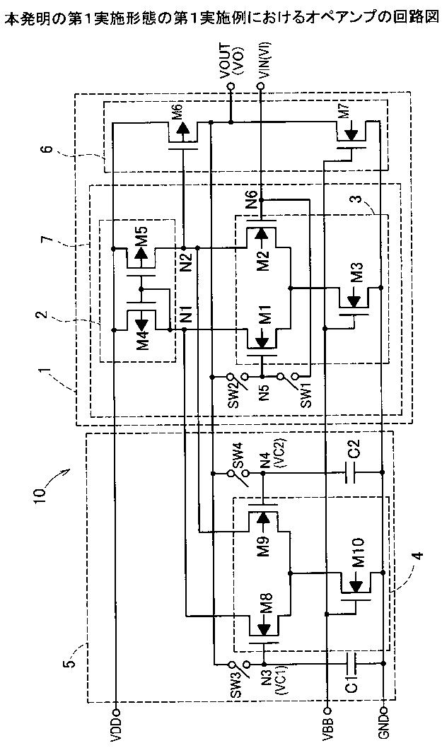
オペアンプ、ラインドライバおよび液晶表示装置
授权日:
1900-01-01
公开(公告)号:
JP2005117547A
申请日:
2003-10-10
公开(公告)日:
2005-04-28
当前申请(专利权)人:
富士通株式会社
发明人:
笠井 稔彦 | 鵜戸 真也 | 國分 政利 | 木崎 貴洋
简单同族:
JP2005117547A | JP4068040B2 | KR100674457B1 | KR1020050035064A | TW200514008A | TWI234758B | US20050077957A1 | US20060226899A1 | US20080252369A1 | US7081792 | US7336124 | US7880537
简单同族成员数量:
12
简单同族被引用专利总数:
66
诉讼案件数:
0
法律状态/事件:
未缴年费 | 权利转移