首页
专利数据库
产业人才
行业动态
产业政策法规
维权援助
个人中心
登录/注册
详情
文本
图像
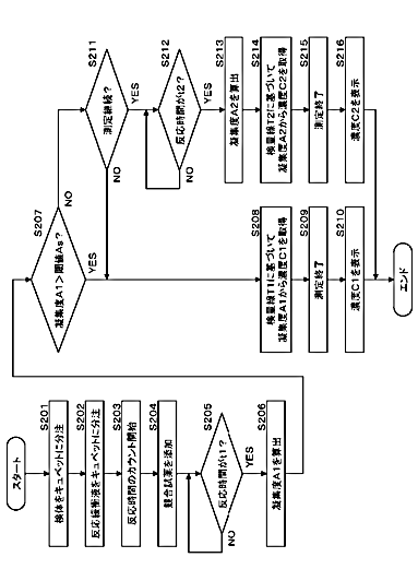
标题:
免疫測定方法および免疫測定装置
授权日:
1900-01-01
公开(公告)号:
JP2014122851A
申请日:
2012-12-21
公开(公告)日:
2014-07-03
当前申请(专利权)人:
シスメックス株式会社
发明人:
吉川 景子 | 越村 直人
简单同族:
CN103884836A | JP2014122851A | US20140178908A1
简单同族成员数量:
3
简单同族被引用专利总数:
0
诉讼案件数:
0
法律状态/事件:
驳回