首页
专利数据库
产业人才
行业动态
产业政策法规
维权援助
个人中心
登录/注册
详情
文本
图像
标题:
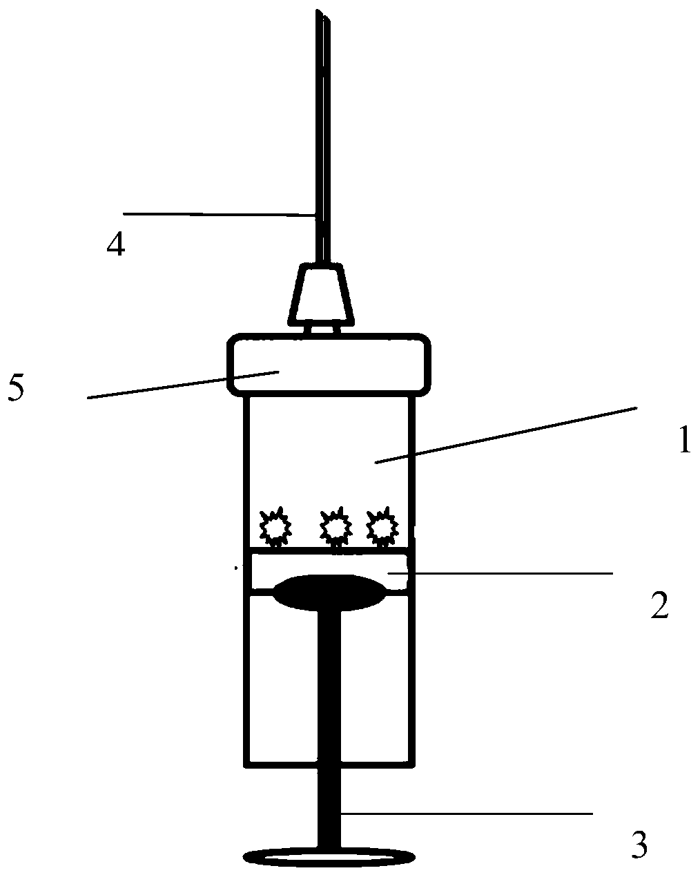
一种牛结核病刺激上清制备用采血器
授权日:
1900-01-01
公开(公告)号:
CN109813576A
申请日:
2019-03-25
公开(公告)日:
2019-05-28
当前申请(专利权)人:
中国动物卫生与流行病学中心
发明人:
张喜悦 | 魏荣 | 商营利 | 孙明军 | 孙翔翔 | 周晓翠 | 李阳
简单同族:
CN109813576A
简单同族成员数量:
1
简单同族被引用专利总数:
0
诉讼案件数:
0
法律状态/事件:
实质审查