首页
专利数据库
产业人才
行业动态
产业政策法规
维权援助
个人中心
登录/注册
详情
文本
图像
标题:
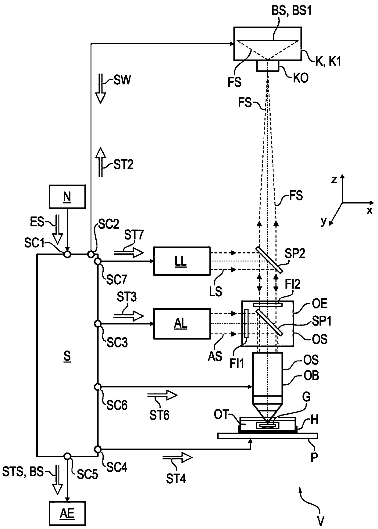
用于采集和显示生物试样的免疫荧光图像的方法和设备
授权日:
1900-01-01
公开(公告)号:
CN110895243A
申请日:
2019-09-12
公开(公告)日:
2020-03-20
当前申请(专利权)人:
欧蒙医学实验诊断股份公司
发明人:
T·J·祖姆普夫 | M·帕佩 | M·哈根-埃格特 | C·皮普克 | T·劳丹 | M·法尔克特 | M·莫林 | K·伦齐
简单同族:
AU2019229421A1 | BR102019018897A2 | CN110895243A | EP3623798A1 | SG10201908494XA | US20200092478A1
简单同族成员数量:
6
简单同族被引用专利总数:
0
诉讼案件数:
0
法律状态/事件:
公开