首页
专利数据库
产业人才
行业动态
产业政策法规
维权援助
个人中心
登录/注册
详情
文本
图像
标题:
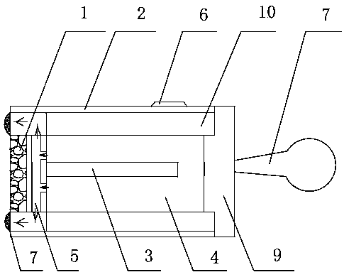
免疫组化用石蜡笔
授权日:
2018-06-01
公开(公告)号:
CN207440105U
申请日:
2017-10-18
公开(公告)日:
2018-06-01
当前申请(专利权)人:
广东医科大学
发明人:
王森 | 郭洪胜 | 黎鹏 | 陈章权 | 李淑贤 | 邓子亮
简单同族:
CN207440105U
简单同族成员数量:
1
简单同族被引用专利总数:
0
诉讼案件数:
0
法律状态/事件:
授权