首页
专利数据库
产业人才
行业动态
产业政策法规
维权援助
个人中心
登录/注册
详情
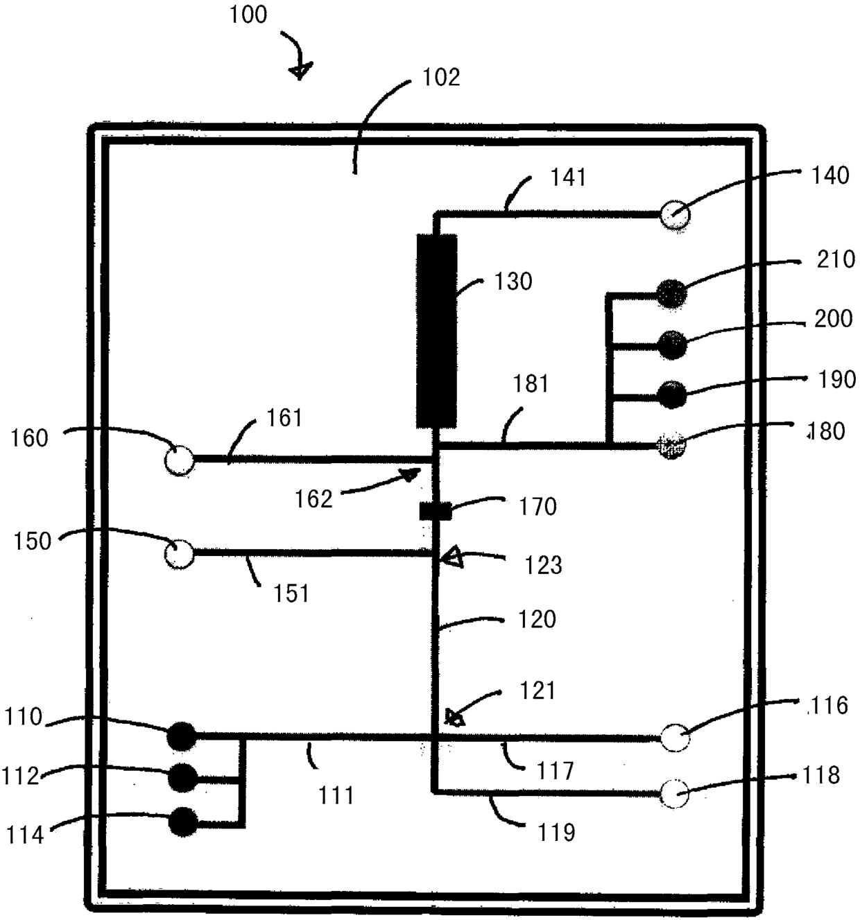
文本
图像
标题:
使用磁珠的微流体免疫试验的方法和系统
授权日:
1900-01-01
公开(公告)号:
CN105992948A
申请日:
2015-01-15
公开(公告)日:
2016-10-05
当前申请(专利权)人:
卡钳生命科学股份有限公司
发明人:
A·巴里 | L·普罗文彻 | S·科恩 | I-J·陈 | J·严 | J·王
简单同族:
CN105992948A | EP3025151A1 | US20150198593A1 | US20180149647A1 | US9835623 | WO2015109126A1
简单同族成员数量:
6
简单同族被引用专利总数:
0
诉讼案件数:
0
法律状态/事件:
实质审查