首页
专利数据库
产业人才
行业动态
产业政策法规
维权援助
个人中心
登录/注册
详情
文本
图像
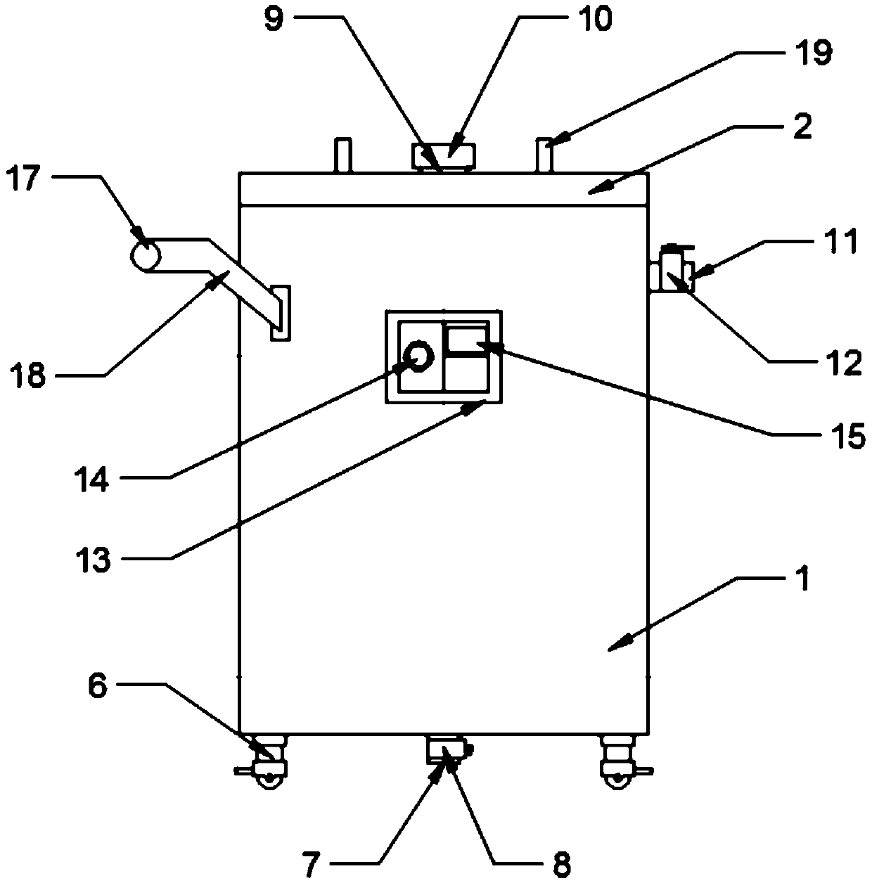
标题:
一种干式免疫分析仪专用废液桶
授权日:
2020-05-05
公开(公告)号:
CN210456056U
申请日:
2019-07-04
公开(公告)日:
2020-05-05
当前申请(专利权)人:
山东鑫桥联康生物工程有限公司
发明人:
刘青平 | 吴毓文 | 刘春丽 | 王金龙
简单同族:
CN210456056U
简单同族成员数量:
1
简单同族被引用专利总数:
0
诉讼案件数:
0
法律状态/事件:
授权