首页
专利数据库
产业人才
行业动态
产业政策法规
维权援助
个人中心
登录/注册
详情
文本
图像
标题:
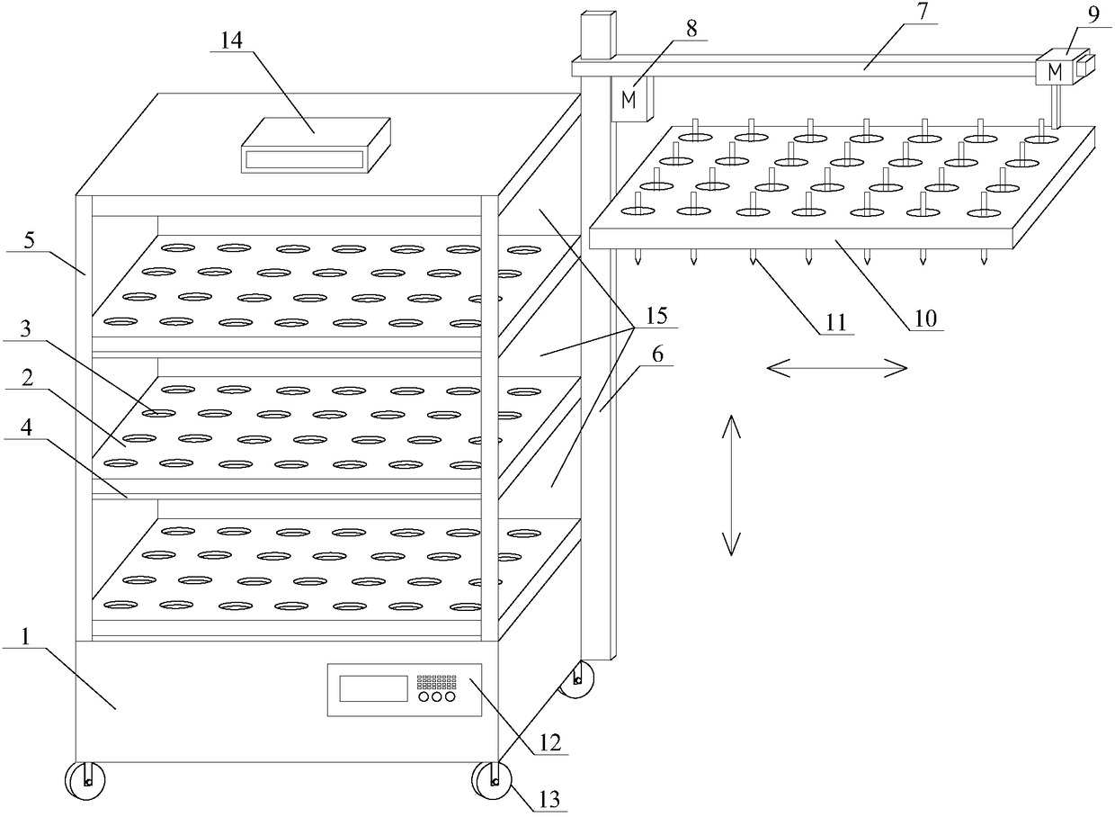
免疫组化批量样本检测装置
授权日:
2018-03-30
公开(公告)号:
CN207164067U
申请日:
2017-09-20
公开(公告)日:
2018-03-30
当前申请(专利权)人:
首都医科大学附属北京中医医院
发明人:
丁军颖 | 洪燕英 | 刘清泉
简单同族:
CN207164067U
简单同族成员数量:
1
简单同族被引用专利总数:
0
诉讼案件数:
0
法律状态/事件:
授权