首页
专利数据库
产业人才
行业动态
产业政策法规
维权援助
个人中心
登录/注册
详情
文本
图像
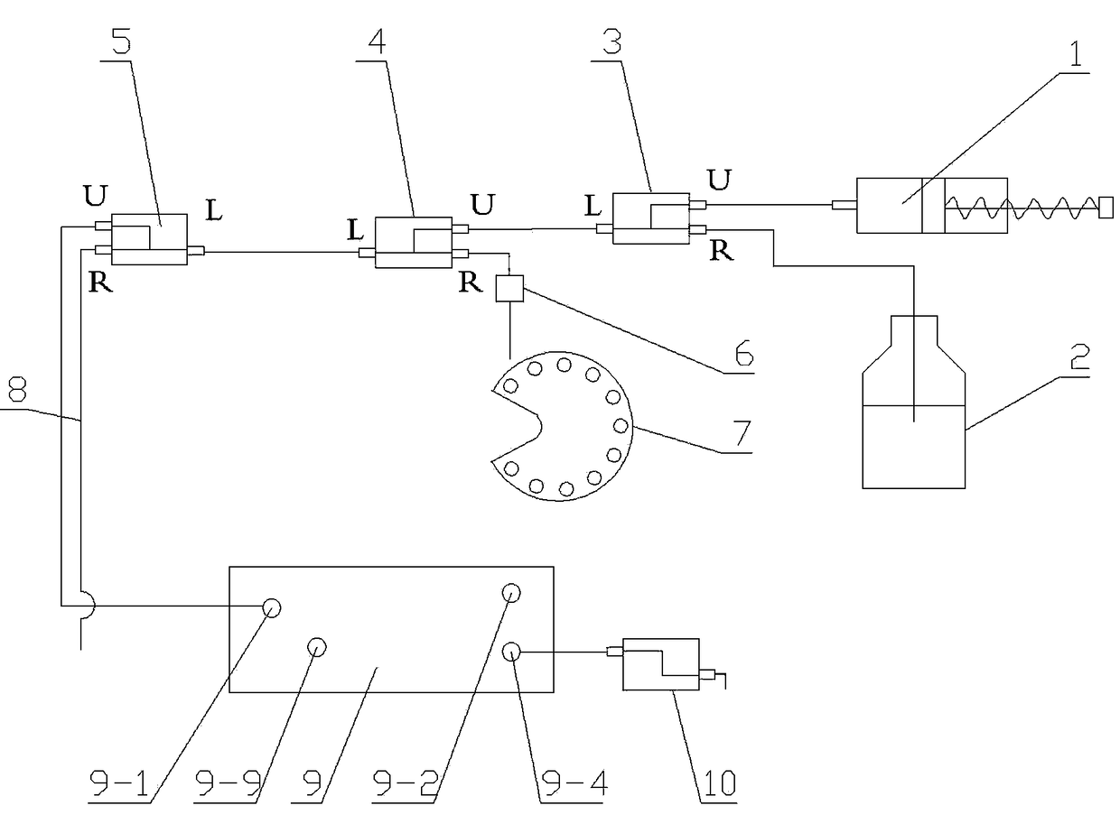
标题:
微免疫检测仪
授权日:
2014-11-05
公开(公告)号:
CN102841196B
申请日:
2012-09-11
公开(公告)日:
2014-11-05
当前申请(专利权)人:
济南格致生物技术有限公司
发明人:
董益阳
简单同族:
CN102841196A | CN102841196B
简单同族成员数量:
2
简单同族被引用专利总数:
0
诉讼案件数:
0
法律状态/事件:
未缴年费