首页
专利数据库
产业人才
行业动态
产业政策法规
维权援助
个人中心
登录/注册
详情
文本
图像
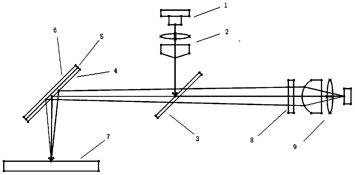
标题:
一种上转发光免疫分析仪的快速检测装置其光路整形方法
授权日:
1900-01-01
公开(公告)号:
CN110411989A
申请日:
2019-08-28
公开(公告)日:
2019-11-05
当前申请(专利权)人:
热景(廊坊)生物技术有限公司
发明人:
李艳召 | 王富强 | 汪吉杰 | 刘培植 | 李照亮
简单同族:
CN110411989A
简单同族成员数量:
1
简单同族被引用专利总数:
0
诉讼案件数:
0
法律状态/事件:
实质审查