首页
专利数据库
产业人才
行业动态
产业政策法规
维权援助
个人中心
登录/注册
详情
文本
图像
标题:
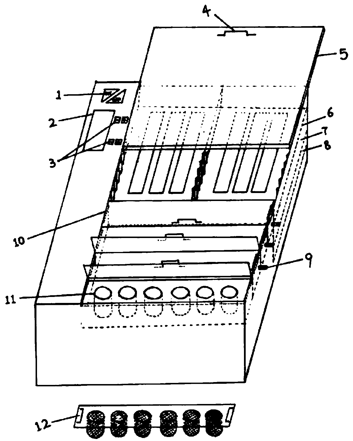
免疫组织化学染色实验用清洗避光晾干盒
授权日:
1900-01-01
公开(公告)号:
CN108106912A
申请日:
2018-01-10
公开(公告)日:
2018-06-01
当前申请(专利权)人:
复旦大学
发明人:
刘婷婷
简单同族:
CN108106912A
简单同族成员数量:
1
简单同族被引用专利总数:
0
诉讼案件数:
0
法律状态/事件:
实质审查