首页
专利数据库
产业人才
行业动态
产业政策法规
维权援助
个人中心
登录/注册
详情
文本
图像
标题:
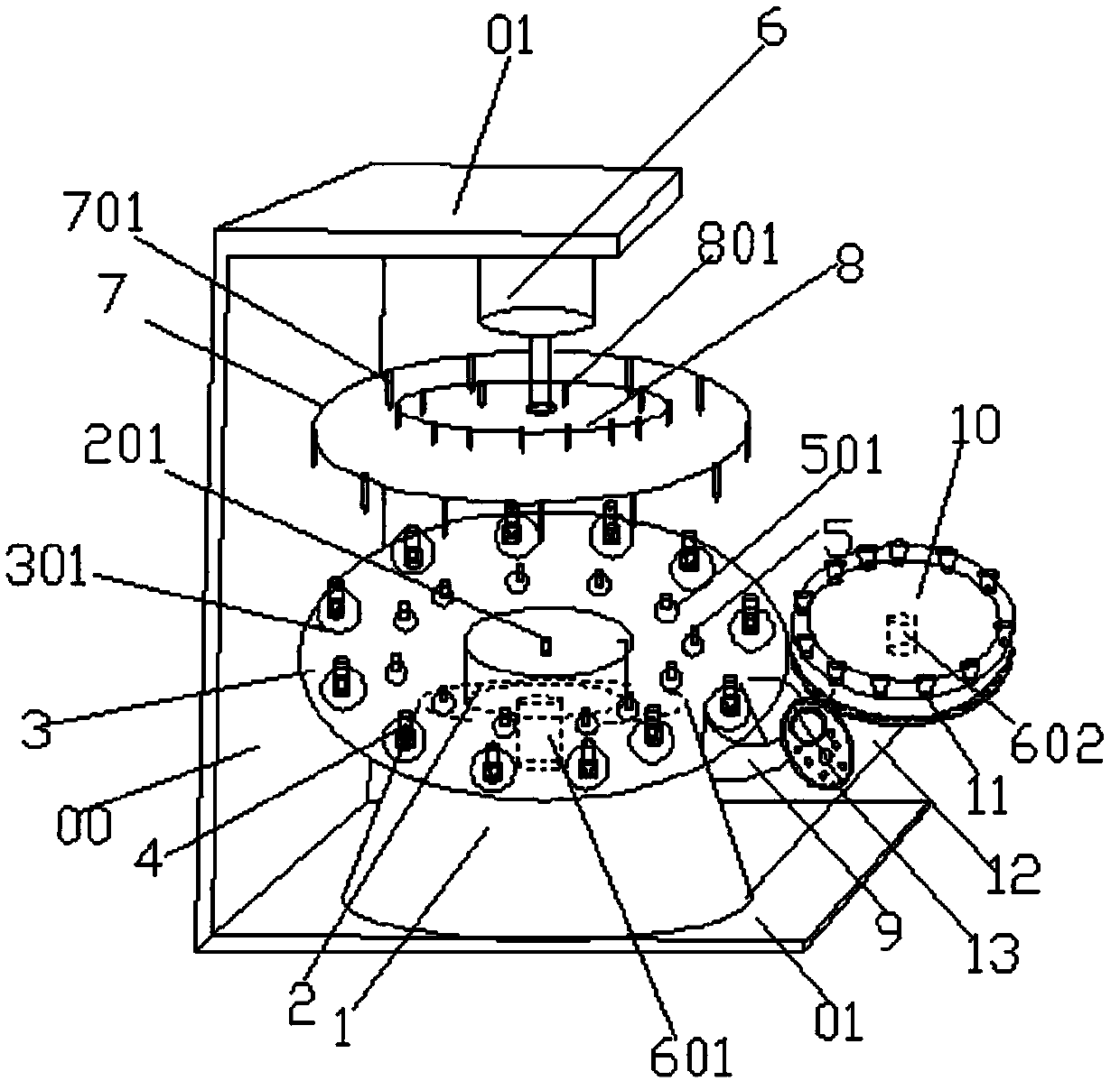
全自动免疫分析仪
授权日:
2019-04-26
公开(公告)号:
CN208795744U
申请日:
2018-08-01
公开(公告)日:
2019-04-26
当前申请(专利权)人:
上海裕隆医学检验所股份有限公司
发明人:
穆海东 | 汪宁梅 | 巴云伟 | 黄颖
简单同族:
CN208795744U
简单同族成员数量:
1
简单同族被引用专利总数:
0
诉讼案件数:
0
法律状态/事件:
授权