首页
专利数据库
产业人才
行业动态
产业政策法规
维权援助
个人中心
登录/注册
详情
文本
图像
标题:
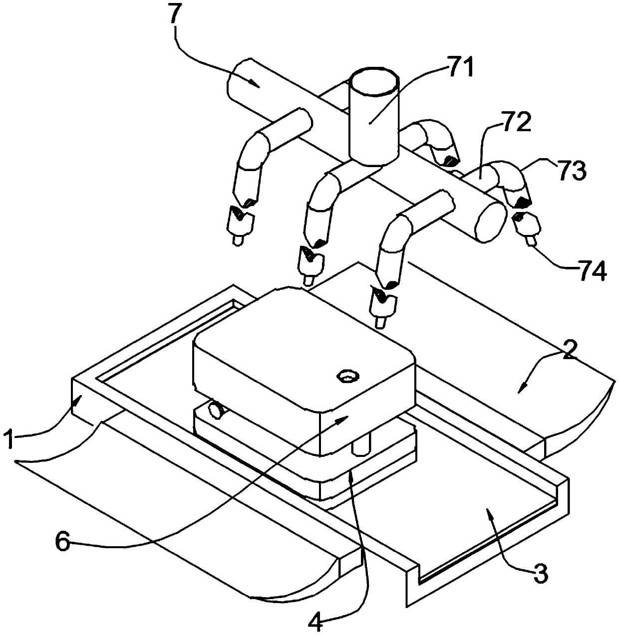
一种优化免疫组化实验操作过程的装置
授权日:
2019-09-27
公开(公告)号:
CN209446597U
申请日:
2019-01-08
公开(公告)日:
2019-09-27
当前申请(专利权)人:
南京脑科医院
发明人:
刘忆 | 董靖德 | 詹贞
简单同族:
CN209446597U
简单同族成员数量:
1
简单同族被引用专利总数:
0
诉讼案件数:
0
法律状态/事件:
授权